TOYOTA 4 RUNNER TRUCK VZN105L-TRMDEK / ELECTRICAL / WINDSHIELD WASHER

Toyota Land Cruiser genuine parts

Toyota - LEXUS genuine parts

WINDSHIELD WASHER

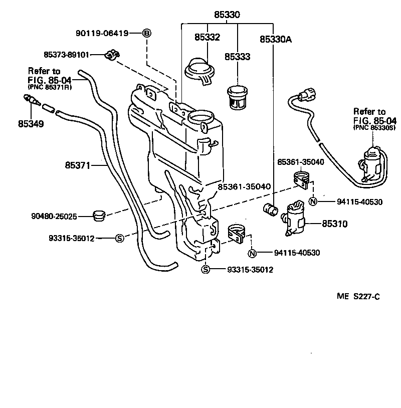
ILLUST NO. 1 OF 2(8808- )

 4 RUNNER TRUCK |  WINDSHIELD WASHER ** Refer Fig ** Refer Fig 85310 - MOTOR AND PUMP ASSY, WINDSHIELD WASHER 85330 - JAR ASSY, WINDSHIELD WASHER 85330A - BUSH, WINDSHIELD WASHER JAR 85332 - CAP, WINDSHIELD WASHER JAR 85333 - FILTER, WINDSHIELD WASHER JAR 85349 - JOINT, WINDSHIELD WASHER HOSE, NO.1  ** Std Part  ** Std Part 85371 - HOSE, WINDSHIELD WASHER (FROM MOTOR TO JOINT)  ** Std Part  ** Std Part  ** Std Part  ** Std Part  ** Std Part  ** Std Part  ** Std Part

Register

Nick (login)
Password
Full name
eMail
Phone
Country

Login

Nick (login)
Password