TOYOTA LAND CRUISER PRADO RZJ120W-GGPEK / BODY / REAR DOOR PANEL GLASS

Toyota Land Cruiser genuine parts

Toyota - LEXUS genuine parts

REAR DOOR PANEL GLASS

ILLUST NO. 2 OF 2(0209- )GRJ12#,KDJ120,121,RZJ120,TRJ120,VZJ12

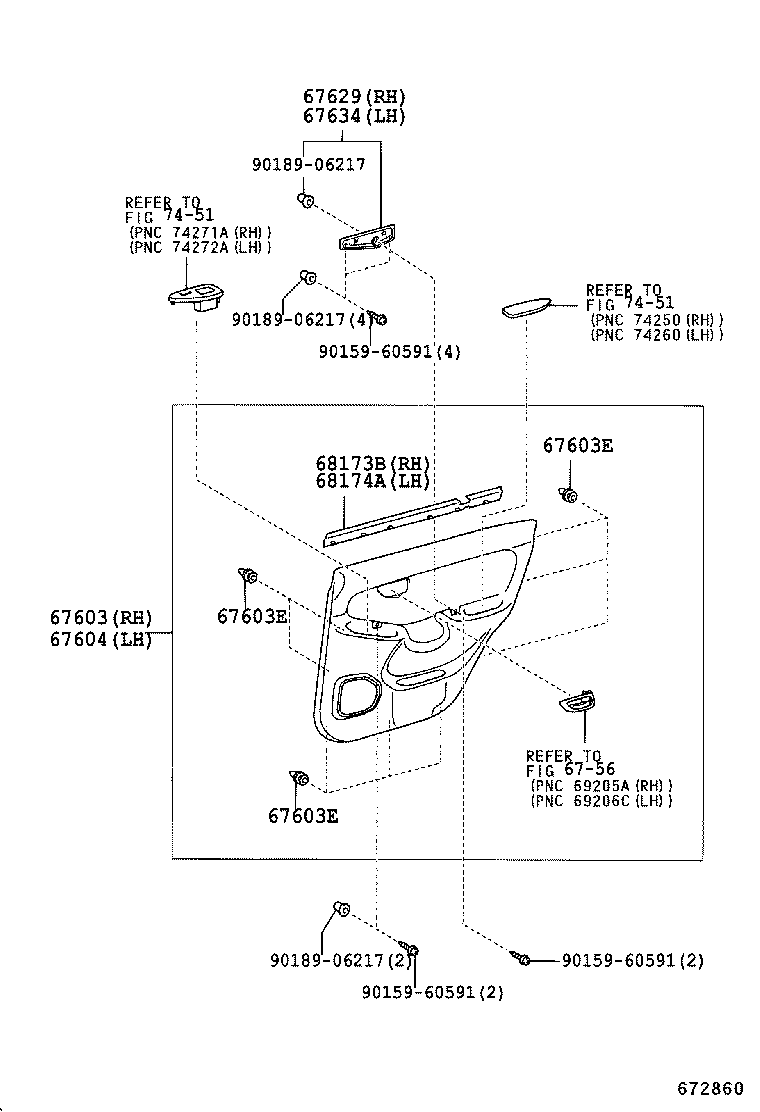
 LAND CRUISER PRADO |  REAR DOOR PANEL GLASS ** Refer Fig 67603 - BOARD SUB-ASSY, REAR DOOR TRIM, RH 67603E - CLIP(FOR REAR DOOR TRIM BOARD) 67603E - CLIP(FOR REAR DOOR TRIM BOARD) 67603E - CLIP(FOR REAR DOOR TRIM BOARD) 67604 - BOARD SUB-ASSY, REAR DOOR TRIM, LH 67629 - BRACKET, REAR DOOR TRIM BOARD 67634 - BRACKET, DOOR TRIM, NO.7 LH 68173B - WEATHERSTRIP, REAR DOOR GLASS, INNER RH 68174A - WEATHERSTRIP, REAR DOOR GLASS, INNER LH ** Refer Fig ** Refer Fig  ** Std Part  ** Std Part  ** Std Part  ** Std Part  ** Std Part  ** Std Part

Register

Nick (login)
Password
Full name
eMail
Phone
Country

Login

Nick (login)
Password