TOYOTA SOARER MZ12-HCPVF / ELECTRICAL / ANTENNA

Toyota Land Cruiser genuine parts

Toyota - LEXUS genuine parts

ANTENNA

(8501- )4FC..GTL

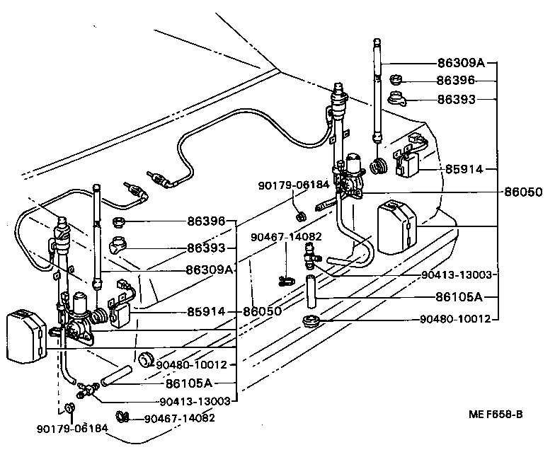
 SOARER |  ANTENNA 85914 - RELAY, MOTOR ANTENNA CONTROL 85914 - RELAY, MOTOR ANTENNA CONTROL 86050 - ANTENNA ASSY, TELEVISION 86050 - ANTENNA ASSY, TELEVISION 86105A - HOSE SUB-ASSY, ANTENNA 86105A - HOSE SUB-ASSY, ANTENNA 86309A - POLE SUB-ASSY, MOTOR ANTENNA 86309A - POLE SUB-ASSY, MOTOR ANTENNA 86393 - ORNAMENT, ANTENNA 86393 - ORNAMENT, ANTENNA 86396 - NUT, ANTENNA 86396 - NUT, ANTENNA  ** Std Part  ** Std Part  ** Std Part  ** Std Part  ** Std Part  ** Std Part  ** Std Part  ** Std Part

Register

Nick (login)
Password
Full name
eMail
Phone
Country

Login

Nick (login)
Password