TOYOTA CAMRY SV10L-UEMESW / TOOL-ENGINE-FUEL / RADIATOR WATER OUTLET

Toyota Land Cruiser genuine parts

Toyota - LEXUS genuine parts

RADIATOR WATER OUTLET

(8210- )1SL,2SE#

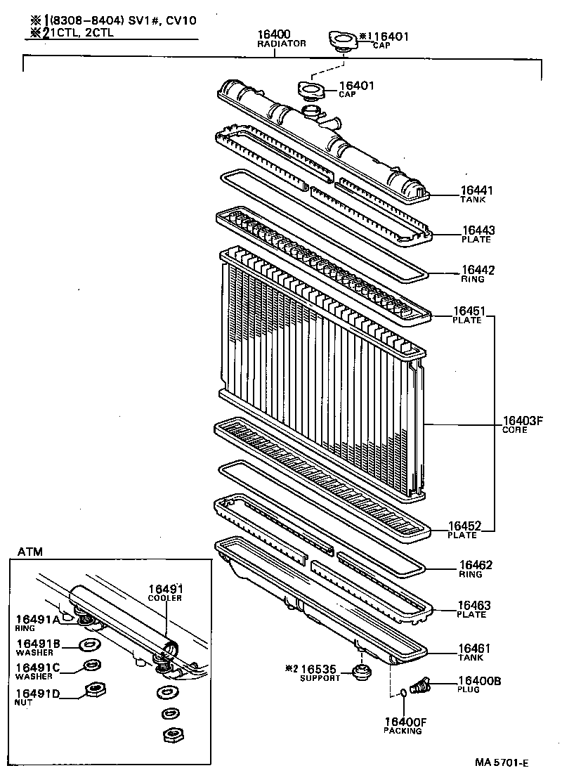
 CAMRY |  RADIATOR WATER OUTLET 16400 - RADIATOR ASSY 16400B - PLUG, RADIATOR DRAIN COCK 16400F - PACKING(FOR RADIATOR DRAIN COCK) 16401 - CAP SUB-ASSY, RADIATOR 16401 - CAP SUB-ASSY, RADIATOR 16403F - CORE SUB-ASSY, RADIATOR 16441 - TANK, RADIATOR, UPPER 16442 - RING, O(FOR RADIATOR UPPER TANK) 16443 - PLATE, RADIATOR TANK, LOCK, UPPER 16451 - PLATE, RADIATOR CORE, UPPER 16452 - PLATE, RADIATOR CORE, LOWER 16461 - TANK, RADIATOR, LOWER 16462 - RING, O(FOR RADIATOR LOWER TANK) 16463 - PLATE, RADIATOR TANK, LOCK, LOWER 16491 - COOLER, OIL(FOR ATM) 16491A - RING, O(FOR ATM OIL COOLER) 16491B - WASHER, PLATE(FOR ATM OIL COOLER) 16491C - WASHER, SPRING(FOR ATM OIL COOLER) 16491D - NUT(FOR ATM OIL COOLER) 16535 - SUPPORT, RADIATOR, LOWER

Register

Nick (login)
Password
Full name
eMail
Phone
Country

Login

Nick (login)
Password