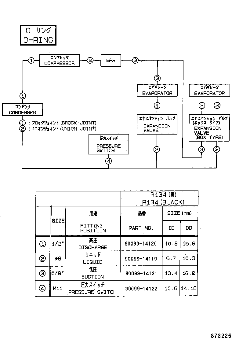
TOYOTA YARIS FRP SCP12R-CHPGKW / ELECTRICAL / HEATING AIR CONDITIONING COOLER UNIT

Toyota Land Cruiser genuine parts

Toyota - LEXUS genuine parts

HEATING AIR CONDITIONING COOLER UNIT

O-RING ILLUST NO. 2 OF 2(0101- )FRP

 YARIS FRP |  HEATING AIR CONDITIONING COOLER UNIT  ** Std Part  ** Std Part  ** Std Part  ** Std Part

Register

Nick (login)
Password
Full name
eMail
Phone
Country

Login

Nick (login)
Password