01/1996-06/1999
O-リング ILLUST NO. 2 OF 2(9601- )
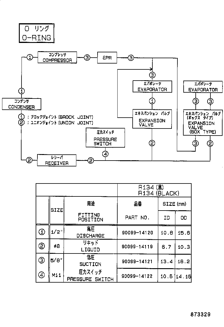
90099-141199009914119
90099-141209009914120
90099-141219009914121
90099-141229009914122