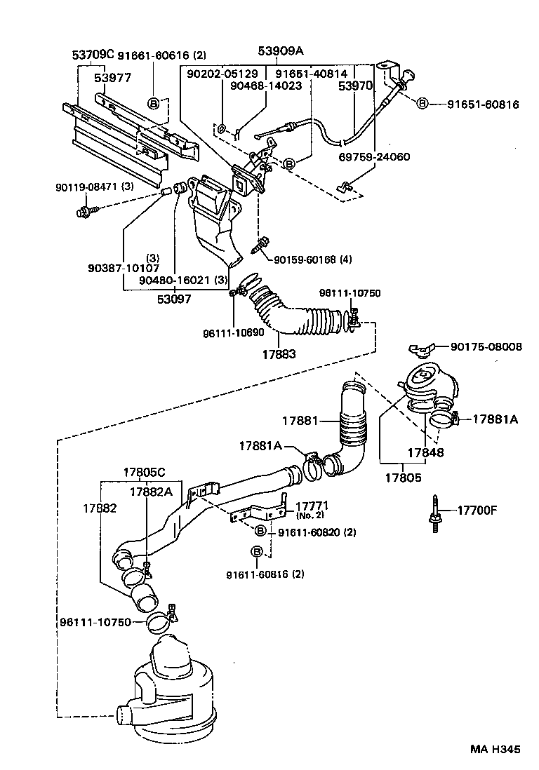
TOYOTA TOYOACE DYNA YY61-PDGTU3 / TOOL-ENGINE-FUEL / AIR CLEANER

Toyota Land Cruiser genuine parts

Toyota - LEXUS genuine parts

AIR CLEANER

ILLUST NO. 2 OF 2(9406- )3YP

 TOYOACE DYNA |  AIR CLEANER 17700F - BOLT, STUD(FOR AIR CLEANER SETTING) 17771 - BRACKET, AIR CLEANER INLET DUCT 17805 - CONNECTOR SUB-ASSY, INTAKE AIR 17805C - PIPE SUB-ASSY, AIR CLEANER, NO.1 17848 - GASKET, AIR CLEANER TO CARBURETOR 17881 - HOSE, AIR CLEANER, NO.1 17881A - CLAMP(FOR AIR CLEANER HOSE, NO.1) 17881A - CLAMP(FOR AIR CLEANER HOSE, NO.1) 17882 - HOSE, AIR CLEANER, NO.2 17882A - CLAMP(FOR AIR CLEANER HOSE, NO.2) 17883 - HOSE, AIR CLEANER, NO.3 53097 - INLET SUB-ASSY 53709C - COVER SUB-ASSY, AIR CLEANER INLET 53909A - BRACKET SUB-ASSY, AIR CLEANER SHUTTER, NO.1 53970 - CABLE ASSY, AIR CLEANER INLET SHUTTER CONTROL 53977 - PLATE, AIR CLEANER INLET COVER  ** Std Part  ** Std Part  ** Std Part  ** Std Part  ** Std Part  ** Std Part  ** Std Part  ** Std Part  ** Std Part  ** Std Part  ** Std Part  ** Std Part  ** Std Part  ** Std Part  ** Std Part  ** Std Part

Register

Nick (login)
Password
Full name
eMail
Phone
Country

Login

Nick (login)
Password