TOYOTA HIACE QUICK DELIVERY LH24HV-QDLT / POWERTRAIN-CHASSIS / CONTROL SHAFT CROSSSHAFT

Toyota Land Cruiser genuine parts

Toyota - LEXUS genuine parts

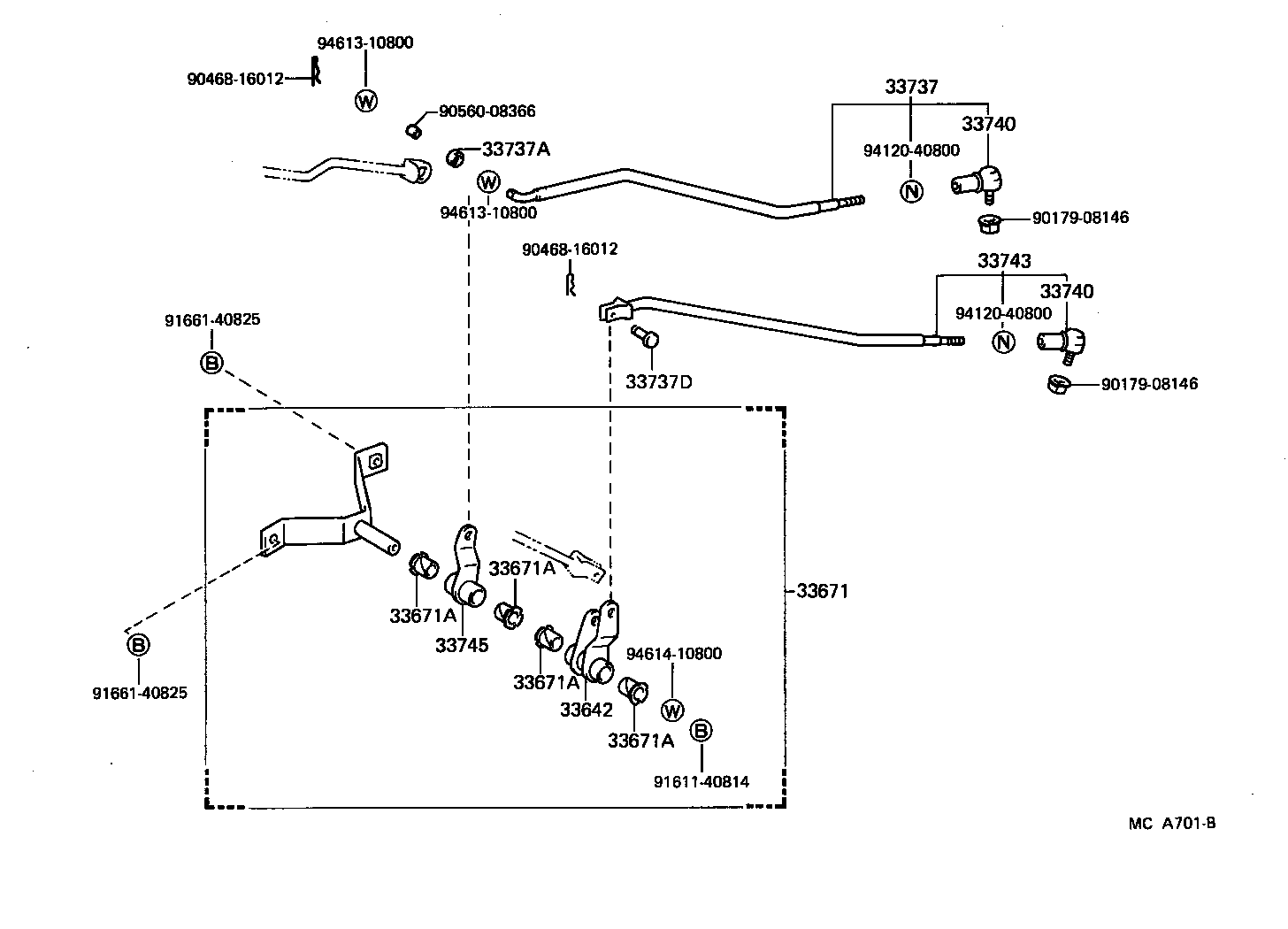
CONTROL SHAFT CROSSSHAFT

ILLUST NO. 2 OF 2(8401- )

 HIACE QUICK DELIVERY |  CONTROL SHAFT CROSSSHAFT 33642 - LEVER, GEAR SELECTING, NO.2 33671 - SUPPORT, CONTROL ROD, NO.1 33671A - BUSH (FOR CONTROL ROD, NO.1 SUPPORT) 33671A - BUSH (FOR CONTROL ROD, NO.1 SUPPORT) 33671A - BUSH (FOR CONTROL ROD, NO.1 SUPPORT) 33671A - BUSH (FOR CONTROL ROD, NO.1 SUPPORT) 33737 - ROD, GEAR SELECTING, NO.3 (FOR COLUMN SHIFT) 33737A - BUSH (FOR GEAR SELECTING ROD NO.3) 33737D - PIN, W/HOSE (FOR GEAR SELECTING ROD NO.3) 33740 - END ASSY, CONNECTING ROD, NO.1(FOR COLUMN SHIFT) 33740 - END ASSY, CONNECTING ROD, NO.1(FOR COLUMN SHIFT) 33743 - ROD, GEAR SHIFTING, NO.3 (FOR COLUMN SHIFT) 33745 - LEVER, GEAR SHIFTING, NO.2 (FOR COLUMN SHIFT)  ** Std Part  ** Std Part  ** Std Part  ** Std Part  ** Std Part  ** Std Part  ** Std Part  ** Std Part  ** Std Part  ** Std Part  ** Std Part  ** Std Part  ** Std Part

Register

Nick (login)
Password
Full name
eMail
Phone
Country

Login

Nick (login)
Password