TOYOTA CELICA GA61-BLMQF / TOOL-ENGINE-FUEL / FUEL INJECTION SYSTEM

Toyota Land Cruiser genuine parts

Toyota - LEXUS genuine parts

FUEL INJECTION SYSTEM

ILLUST NO. 2 OF 3(8208-8308)1GGEU

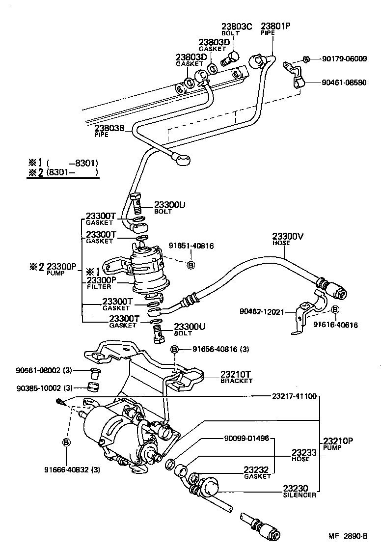
 CELICA |  FUEL INJECTION SYSTEM 23210P - PUMP ASSY, FUEL W/MOTOR & BRACKET 23210T - BRACKET, FUEL PUMP  ** Std Part 23230 - SILENCER ASSY 23232 - GASKET(FOR FUEL PUMP HOSE) 23233 - HOSE, FUEL PUMP 23300P - FILTER, FUEL(FOR EFI) 23300P - FILTER, FUEL(FOR EFI) 23300T - GASKET(FOR FUEL FILTER) 23300T - GASKET(FOR FUEL FILTER) 23300T - GASKET(FOR FUEL FILTER) 23300T - GASKET(FOR FUEL FILTER) 23300U - BOLT, UNION(FOR FUEL FILTER) 23300U - BOLT, UNION(FOR FUEL FILTER) 23300V - HOSE, FUEL(FOR FUEL INLET) 23801P - PIPE SUB-ASSY, FUEL, NO.1 23803B - PIPE SUB-ASSY, FUEL, NO.3 23803C - GASKET(NOZZLE LEKAGE PIPE NO.3) 23803D - BOLT, UNION(FOR NOZZLE LEKAGE PIPE NO.3) 23803D - BOLT, UNION(FOR NOZZLE LEKAGE PIPE NO.3)  ** Std Part  ** Std Part  ** Std Part  ** Std Part  ** Std Part  ** Std Part  ** Std Part  ** Std Part  ** Std Part  ** Std Part

Register

Nick (login)
Password
Full name
eMail
Phone
Country

Login

Nick (login)
Password