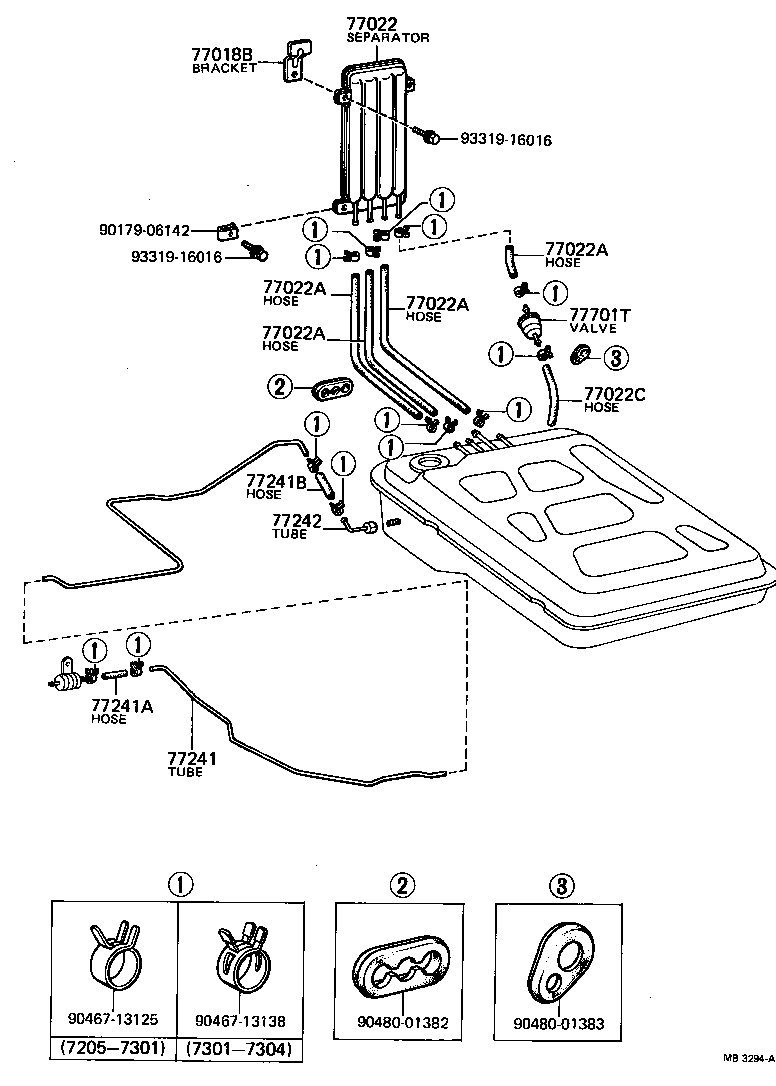
TOYOTA PUBLICA KP36V-D / BODY / FUEL TANK TUBE

Toyota Land Cruiser genuine parts

Toyota - LEXUS genuine parts

FUEL TANK TUBE

ILLUST NO. 2 OF 2(7205-7304)V

 PUBLICA |  FUEL TANK TUBE 77018B - BRACKET, VAPOUR SEPARATOR 77022 - SEPARATOR SUB-ASSY, FUEL EVAPORATIVE 77022A - HOSE, FUEL(FOR FUEL EVAPORATIVE SEPARATOR) 77022A - HOSE, FUEL(FOR FUEL EVAPORATIVE SEPARATOR) 77022A - HOSE, FUEL(FOR FUEL EVAPORATIVE SEPARATOR) 77022A - HOSE, FUEL(FOR FUEL EVAPORATIVE SEPARATOR) 77022C - HOSE OR TUBE(FOR FUEL EVAPORATIVE SEPARATOR) 77241 - TUBE, FUEL MAIN, NO.1 77241A - HOSE, FUEL, NO.1 (FOR MAIN TUBE, NO.1) 77241B - HOSE, FUEL, NO.2 (FOR MAIN TUBE, NO.1) 77242 - TUBE, FUEL MAIN, NO.2 77701T - VALVE, CHECK (FOR MAIN FUEL TANK)  ** Std Part  ** Std Part  ** Std Part  ** Std Part  ** Std Part  ** Std Part  ** Std Part

Register

Nick (login)
Password
Full name
eMail
Phone
Country

Login

Nick (login)
Password