TOYOTA CROWN MS123R-SEPQFQ / TOOL-ENGINE-FUEL / FUEL INJECTION SYSTEM

Toyota Land Cruiser genuine parts

Toyota - LEXUS genuine parts

FUEL INJECTION SYSTEM

(8308- )5MGE,6MGE

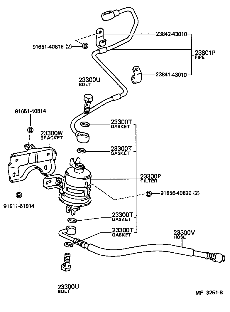
 CROWN |  FUEL INJECTION SYSTEM 23300P - FILTER, FUEL(FOR EFI) 23300T - GASKET(FOR FUEL FILTER) 23300T - GASKET(FOR FUEL FILTER) 23300T - GASKET(FOR FUEL FILTER) 23300T - GASKET(FOR FUEL FILTER) 23300U - BOLT, UNION(FOR FUEL FILTER) 23300U - BOLT, UNION(FOR FUEL FILTER) 23300V - HOSE, FUEL(FOR FUEL INLET) 23300W - BRACKET, FUEL FILTER 23801P - PIPE SUB-ASSY, FUEL, NO.1  ** Std Part  ** Std Part  ** Std Part  ** Std Part  ** Std Part  ** Std Part

Register

Nick (login)
Password
Full name
eMail
Phone
Country

Login

Nick (login)
Password