TOYOTA CROWN MS112R-SEHQEQ / TOOL-ENGINE-FUEL / FUEL INJECTION SYSTEM

Toyota Land Cruiser genuine parts

Toyota - LEXUS genuine parts

FUEL INJECTION SYSTEM

(7909-8208)5ME

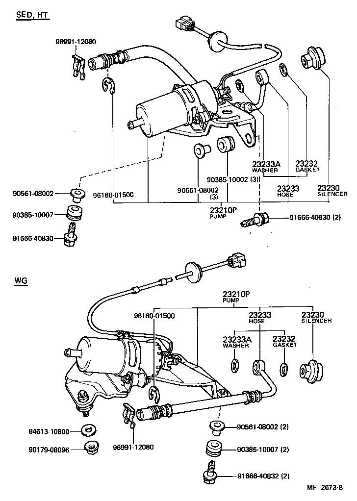
 CROWN |  FUEL INJECTION SYSTEM 23210P - PUMP ASSY, FUEL W/MOTOR & BRACKET 23210P - PUMP ASSY, FUEL W/MOTOR & BRACKET 23230 - SILENCER ASSY 23230 - SILENCER ASSY 23232 - GASKET(FOR FUEL PUMP HOSE) 23232 - GASKET(FOR FUEL PUMP HOSE) 23233 - HOSE, FUEL PUMP 23233 - HOSE, FUEL PUMP 23233A - WASHER(FOR FUEL PUMP HOSE) 23233A - WASHER(FOR FUEL PUMP HOSE)  ** Std Part  ** Std Part  ** Std Part  ** Std Part  ** Std Part  ** Std Part  ** Std Part  ** Std Part  ** Std Part  ** Std Part  ** Std Part  ** Std Part  ** Std Part  ** Std Part  ** Std Part

Register

Nick (login)
Password
Full name
eMail
Phone
Country

Login

Nick (login)
Password