TOYOTA COASTER BB20L-MDZER / BODY / FUEL TANK TUBE

Toyota Land Cruiser genuine parts

Toyota - LEXUS genuine parts

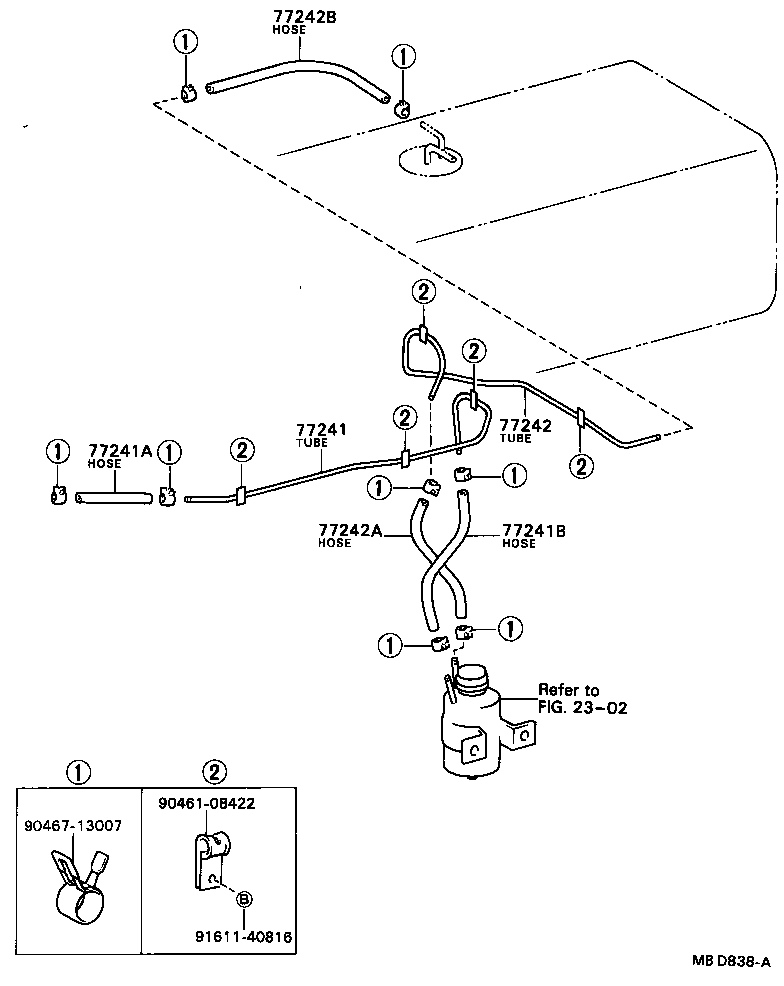
FUEL TANK TUBE

ILLUST NO. 2 OF 2(8205-8808)BB20,21,30..LHD

 COASTER |  FUEL TANK TUBE ** Refer Fig 77241 - TUBE, FUEL MAIN, NO.1 77241A - HOSE, FUEL, NO.1 (FOR MAIN TUBE, NO.1) 77241B - HOSE, FUEL, NO.2 (FOR MAIN TUBE, NO.1) 77242 - TUBE, FUEL MAIN, NO.2 77242A - HOSE, FUEL, NO.1 (FOR MAIN TUBE, NO.2) 77242B - HOSE, FUEL, NO.2 (FOR MAIN TUBE, NO.2)  ** Std Part  ** Std Part  ** Std Part

Register

Nick (login)
Password
Full name
eMail
Phone
Country

Login

Nick (login)
Password