LEXUS GS250 350 450H GRL10L-BEZQHA / ELECTRICAL / WIRING CLAMP

Toyota Land Cruiser genuine parts

Toyota - LEXUS genuine parts

WIRING CLAMP

ENGINE ILLUST NO. 2 OF11(1309- )GRL1#

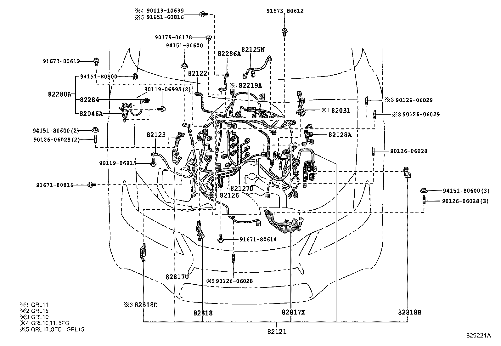
 GS250 350 450H |  WIRING CLAMP 82031 - WIRE SUB-ASSY, IGNITION COIL 82046A - WIRE SUB-ASSY, BODY GROUND, NO.1 82121 - WIRE, ENGINE 82122 - WIRE, ENGINE, NO.2 82123 - WIRE, ENGINE, NO.3 82125N - WIRE, ENGINE, NO.5 82126 - WIRE, ENGINE 82127D - WIRE, ENGINE, NO.7 82128A - WIRE, ENGINE, NO.8 82219A - WIRE, SENSOR 82280A - WIRE ASSY, BATTERY TO COWL TOP SIDE 82284 - WIRE, EARTH 82286A - WIRE, EARTH, NO.2 82817U - PROTECTOR, WIRING HARNESS, NO.16 82817X - PROTECTOR, WIRING HARNESS, N0.17 82818 - PROTECTOR, WIRING HARNESS, NO.2 82818B - PROTECTOR, WIRING HARNESS, NO.3 82818D - PROTECTOR, WIRING HARNESS, NO.5  ** Std Part  ** Std Part  ** Std Part  ** Std Part  ** Std Part  ** Std Part  ** Std Part  ** Std Part  ** Std Part  ** Std Part  ** Std Part  ** Std Part  ** Std Part  ** Std Part  ** Std Part  ** Std Part  ** Std Part  ** Std Part  ** Std Part

Register

Nick (login)
Password
Full name
eMail
Phone
Country

Login

Nick (login)
Password