LEXUS ES300 VCV10R-BTPGKQ / TOOL-ENGINE-FUEL / FUEL INJECTION SYSTEM

Toyota Land Cruiser genuine parts

Toyota - LEXUS genuine parts

FUEL INJECTION SYSTEM

ILLUST NO. 2 OF 2(9203- )

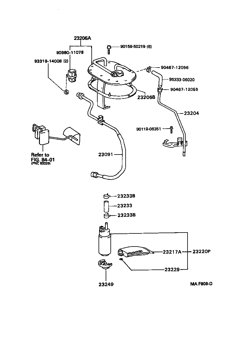
 ES300 |  FUEL INJECTION SYSTEM 23091 - TUBE SUB-ASSY, FUEL PUMP 23204 - TUBE SUB-ASSY, FUEL PUMP RETURN 23206A - BRACKET, FUEL PUMP 23206B - GASKET, FUEL PUMP BRACKET 23217A - FILTER, FUEL PUMP 23220P - PUMP ASSY, FUEL 23229 - CLIP(FOR FUEL PUMP FILTER) 23233 - HOSE, FUEL PUMP 23233B - CLIP(FOR FUEL PUMP HOSE) 23233B - CLIP(FOR FUEL PUMP HOSE) 23249 - RUBBER, CUSHION(FOR FUEL PUMP) ** Refer Fig  ** Std Part  ** Std Part  ** Std Part  ** Std Part  ** Std Part  ** Std Part  ** Std Part

Register

Nick (login)
Password
Full name
eMail
Phone
Country

Login

Nick (login)
Password