TOYOTA CAMRY VZV21LG-UWPNKA / ELECTRICAL / WINDSHIELD WASHER

Toyota Land Cruiser genuine parts

Toyota - LEXUS genuine parts

WINDSHIELD WASHER

(8608- )WG

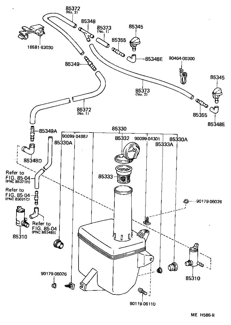
 CAMRY |  WINDSHIELD WASHER  ** Std Part ** Refer Fig ** Refer Fig ** Refer Fig 85310 - MOTOR AND PUMP ASSY, WINDSHIELD WASHER 85310 - MOTOR AND PUMP ASSY, WINDSHIELD WASHER 85330 - JAR ASSY, WINDSHIELD WASHER 85330A - BUSH, WINDSHIELD WASHER JAR 85330A - BUSH, WINDSHIELD WASHER JAR 85332 - CAP, WINDSHIELD WASHER JAR 85333 - FILTER, WINDSHIELD WASHER JAR 85333A - FILTER, WINDSHIELD WASHER JAR, NO.2 85345 - NOZZLE, WINDSHIELD WASHER 85345 - NOZZLE, WINDSHIELD WASHER 85348 - JOINT, WINDSHIELD WASHER HOSE, NO.1 85348D - JOINT, WINDSHIELD WASHER ELBOW, NO.1 85348E - JOINT, WINDSHIELD WASHER ELBOW, NO.2 85348E - JOINT, WINDSHIELD WASHER ELBOW, NO.2 85349 - JOINT, WINDSHIELD WASHER HOSE, NO.1 85349A - JOINT, WINDSHIELD WASHER HOSE, NO.2 85355 - VALVE, WINDSHIELD WASHER HOSE 85355 - VALVE, WINDSHIELD WASHER HOSE 85372 - HOSE, WINDSHIELD WASHER (FROM JOINT TO JOINT), NO.1 85372 - HOSE, WINDSHIELD WASHER (FROM JOINT TO JOINT), NO.1 85373 - HOSE, WINDSHIELD WASHER (FROM JOINT TO NOZZLE) 85373 - HOSE, WINDSHIELD WASHER (FROM JOINT TO NOZZLE)  ** Std Part  ** Std Part  ** Std Part  ** Std Part  ** Std Part  ** Std Part

Register

Nick (login)
Password
Full name
eMail
Phone
Country

Login

Nick (login)
Password