TOYOTA 4 RUNNER TRUCK VZN61LG-PSEA / ELECTRICAL / WIRING CLAMP

Toyota Land Cruiser genuine parts

Toyota - LEXUS genuine parts

WIRING CLAMP

(8711- )VZN6#

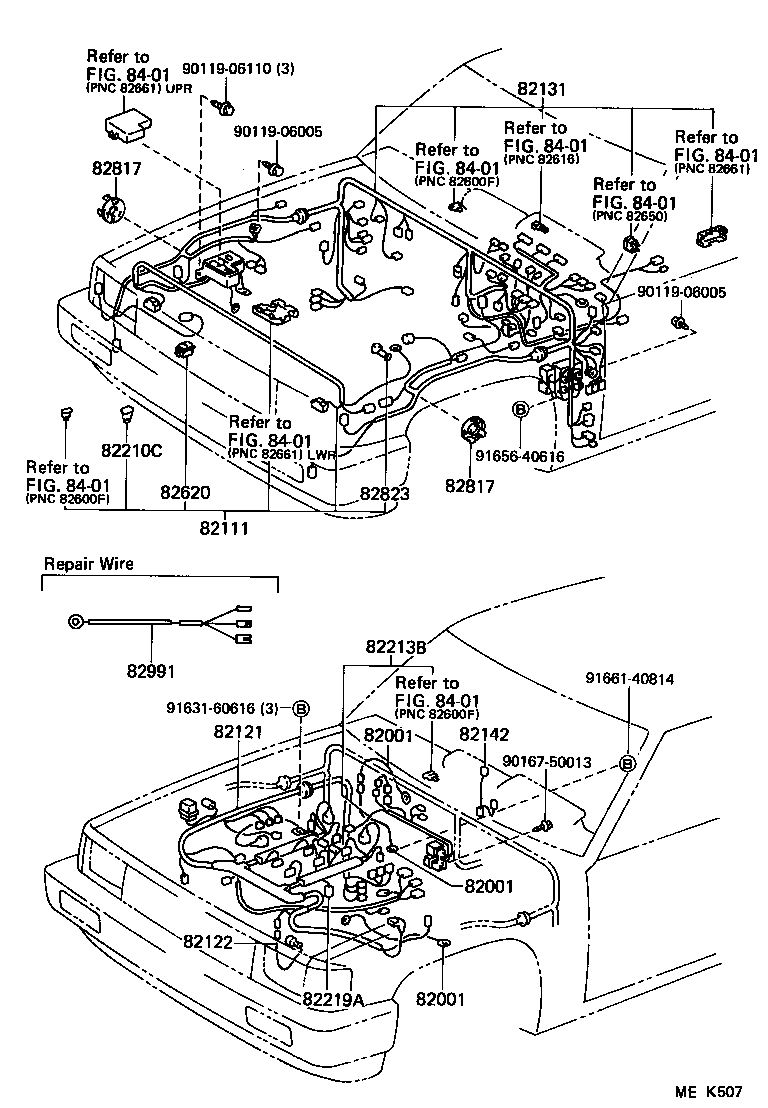
 4 RUNNER TRUCK |  WIRING CLAMP 82001 - CABLE, BOND, NO.1 82001 - CABLE, BOND, NO.1 82001 - CABLE, BOND, NO.1 82111 - WIRE, ENGINE ROOM MAIN 82121 - WIRE, ENGINE 82122 - WIRE, ENGINE, NO.2 82131 - WIRE, COWL 82142 - WIRE, INSTRUMENT PANEL, NO.2 82210C - FUSIBLE LINK 82213B - WIRE, HEATER 82219A - WIRE, SENSOR 82620 - BLOCK ASSY, FUSIBLE LINK 82817 - PROTECTOR, WIRING HARNESS, NO.1 82817 - PROTECTOR, WIRING HARNESS, NO.1 82823 - CAP, TERMINAL, NO.1 82991 - WIRE, FUSIBLE LINK REPAIR ** Refer Fig ** Refer Fig ** Refer Fig ** Refer Fig ** Refer Fig ** Refer Fig ** Refer Fig ** Refer Fig  ** Std Part  ** Std Part  ** Std Part  ** Std Part  ** Std Part  ** Std Part  ** Std Part

Register

Nick (login)
Password
Full name
eMail
Phone
Country

Login

Nick (login)
Password