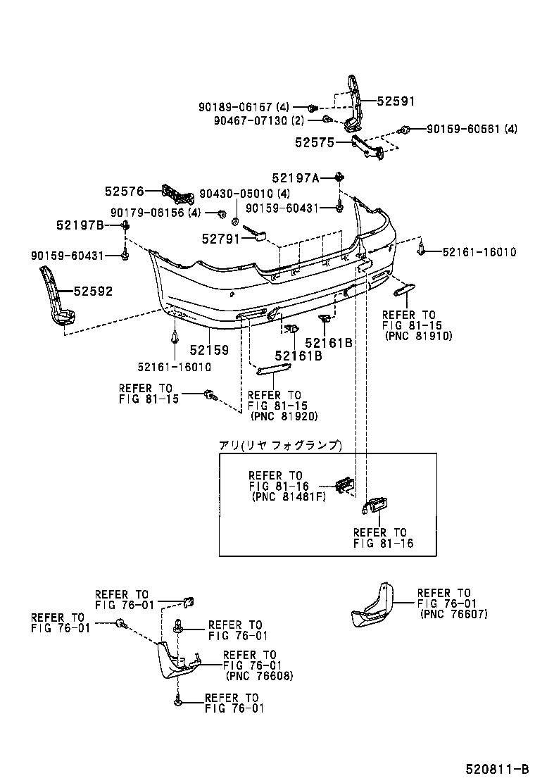
TOYOTA PREMIO ALLION ZZT245-CEPEK / BODY / REAR BUMPER BUMPER STAY

Toyota Land Cruiser genuine parts

Toyota - LEXUS genuine parts

REAR BUMPER BUMPER STAY

(0112- )ALN

 PREMIO ALLION |  REAR BUMPER BUMPER STAY 52159 - COVER, REAR BUMPER  ** Std Part  ** Std Part 52161B - PIECE, REAR BUMPER 52161B - PIECE, REAR BUMPER 52197A - BRACKET, REAR BUMPER SEAL, RH 52197B - BRACKET, REAR BUMPER SEAL, LH 52575 - RETAINER, REAR BUMPER SIDE, RH 52576 - RETAINER, REAR BUMPER SIDE, LH 52591 - SEAL, REAR BUMPER SIDE, RH 52592 - SEAL, REAR BUMPER SIDE, LH 52791 - BOLT, BUMPER MOULDING SET, NO.1 ** Refer Fig ** Refer Fig ** Refer Fig ** Refer Fig ** Refer Fig ** Refer Fig ** Refer Fig ** Refer Fig ** Refer Fig ** Refer Fig ** Refer Fig  ** Std Part  ** Std Part  ** Std Part  ** Std Part  ** Std Part  ** Std Part  ** Std Part

Register

Nick (login)
Password
Full name
eMail
Phone
Country

Login

Nick (login)
Password