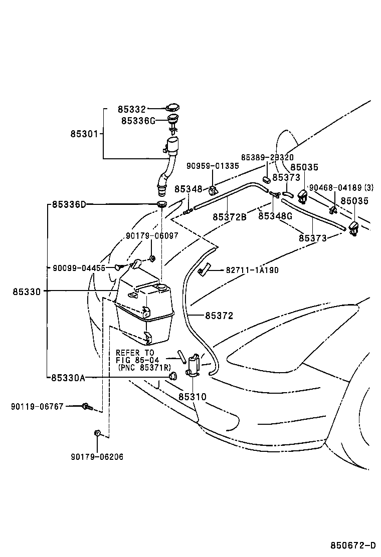
TOYOTA CELICA ZZT230-BLPGH / ELECTRICAL / WINDSHIELD WASHER

Toyota Land Cruiser genuine parts

Toyota - LEXUS genuine parts

WINDSHIELD WASHER

(9908- )

 CELICA |  WINDSHIELD WASHER  ** Std Part 85035 - NOZZLE SUB-ASSY, WASHER 85035 - NOZZLE SUB-ASSY, WASHER ** Refer Fig 85301 - INLET SUB-ASSY, WASHER 85310 - MOTOR AND PUMP ASSY, WINDSHIELD WASHER 85330 - JAR ASSY, WINDSHIELD WASHER 85330A - BUSH, WINDSHIELD WASHER JAR 85332 - CAP, WINDSHIELD WASHER JAR 85336D - PACKING, WINDSHIELD WASHER JAR 85336G - GAGE, WATER LEVEL 85348 - JOINT, WINDSHIELD WASHER HOSE, NO.1 85348G - JOINT, WINDSHIELD WASHER HOSE, NO.2 85372 - HOSE, WINDSHIELD WASHER (FROM JOINT TO JOINT), NO.1 85372B - HOSE, WINDSHIELD WASHER (FROM JOINT TO JOINT), NO.2 85373 - HOSE, WINDSHIELD WASHER (FROM JOINT TO NOZZLE) 85373 - HOSE, WINDSHIELD WASHER (FROM JOINT TO NOZZLE)  ** Std Part  ** Std Part  ** Std Part  ** Std Part  ** Std Part  ** Std Part  ** Std Part

Register

Nick (login)
Password
Full name
eMail
Phone
Country

Login

Nick (login)
Password