TOYOTA COASTER HDB51-ZRMQX / TOOL-ENGINE-FUEL / INJECTION NOZZLE

Toyota Land Cruiser genuine parts

Toyota - LEXUS genuine parts

INJECTION NOZZLE

(9301-9505)1HDT

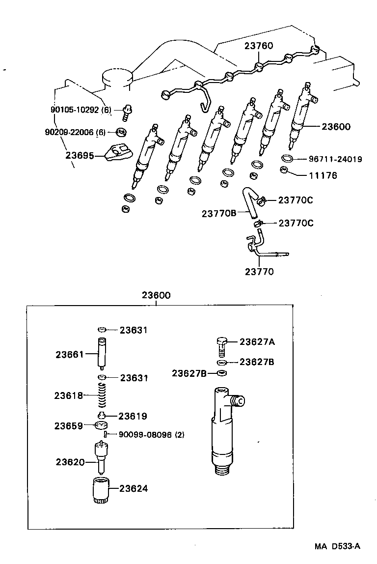
 COASTER |  INJECTION NOZZLE 11176 - SEAT, INJECTION NOZZLE 23600 - HOLDER & NOZZLE SET, NOZZLE 23600 - HOLDER & NOZZLE SET, NOZZLE 23618 - SPRING, NOZZLE HOLDER PRESSURE 23619 - PIN, NOZZLE HOLDER PRESSURE 23620 - NOZZLE ASSY 23624 - NUT, NOZZLE RETAINING 23627A - SCREW, FOLLOW(FOR NOZZLE) 23627B - WASHER, COPPER PLATE(FOR NOZZLE) 23627B - WASHER, COPPER PLATE(FOR NOZZLE) 23631 - WASHER(FOR NOZZLE HOLDER PRESSURE SPRING) 23631 - WASHER(FOR NOZZLE HOLDER PRESSURE SPRING) 23659 - PACKING, TIP(FOR NOZZLE) 23661 - CAPSULE SUB-ASSY 23695 - CLAMP, NOZZLE HOLDER, NO.1 23760 - PIPE ASSY, NOZZLE LEAKAGE 23770 - PIPE ASSY, NOZZLE LEAKAGE, NO.2 23770B - HOSE, FUEL 23770C - CLAMP OR CLIP(FOR FUEL HOSE SET) 23770C - CLAMP OR CLIP(FOR FUEL HOSE SET)  ** Std Part  ** Std Part  ** Std Part  ** Std Part

Register

Nick (login)
Password
Full name
eMail
Phone
Country

Login

Nick (login)
Password