TOYOTA SOARER MZ21-HCPZZ / TOOL-ENGINE-FUEL / ENGINE OIL PUMP

Toyota Land Cruiser genuine parts

Toyota - LEXUS genuine parts

ENGINE OIL PUMP

(8801- )7MGTEU

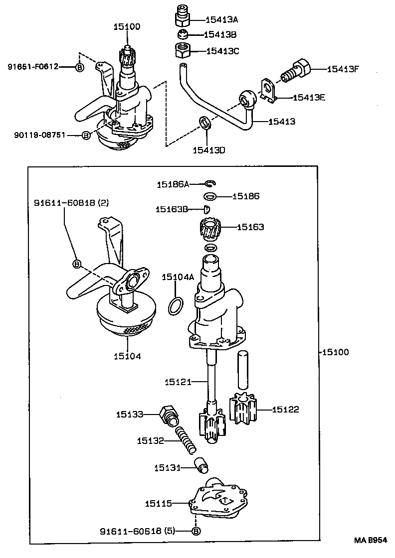
 SOARER |  ENGINE OIL PUMP 15100 - PUMP ASSY, OIL 15100 - PUMP ASSY, OIL 15104 - STRAINER SUB-ASSY, OIL 15104A - RING, O(FOR OIL STRAINER) 15115 - COVER, OIL PUMP 15121 - GEAR, OIL PUMP DRIVE 15122 - GEAR, OIL PUMP DRIVEN 15131 - VALVE, OIL PUMP RELIEF 15132 - SPRING, OIL PUMP RELIEF VALVE 15133 - PLUG, OIL PUMP RELIEF VALVE 15163 - GEAR, OIL PUMP DRIVE SHAFT 15163B - KEY, WOODRUFF(FOR OIL PUMP DRIVE SHAFT GEAR) 15186 - SPACER(FOR OIL PUMP DRIVE SHAFT GEAR) 15186A - RING, SHAFT SNAP(FOR OIL PUMP DRIVE SHAFT GEAR) 15413 - PIPE, OIL PUMP OUTLET 15413A - UNION(FOR OIL PUMP OUTLET PIPE) 15413B - SLEEVE, BALL(FOR OIL PUMP OUTLET PIPE) 15413C - NUT, UNION(FOR OIL PUMP OUTLET PIPE) 15413D - GASKET(FOR OIL PUMP OUTLET PIPE) 15413E - WASHER, LOCK(FOR OIL PUMP OUTLET PIPE) 15413F - BOLT, UNION(FOR OIL PUMP OUTLET PIPE)  ** Std Part  ** Std Part  ** Std Part  ** Std Part

Register

Nick (login)
Password
Full name
eMail
Phone
Country

Login

Nick (login)
Password