TOYOTA HIACE VAN WAGON YH50V-QB / POWERTRAIN-CHASSIS / BRAKE MASTER CYLINDER

Toyota Land Cruiser genuine parts

Toyota - LEXUS genuine parts

BRAKE MASTER CYLINDER

(8708- )

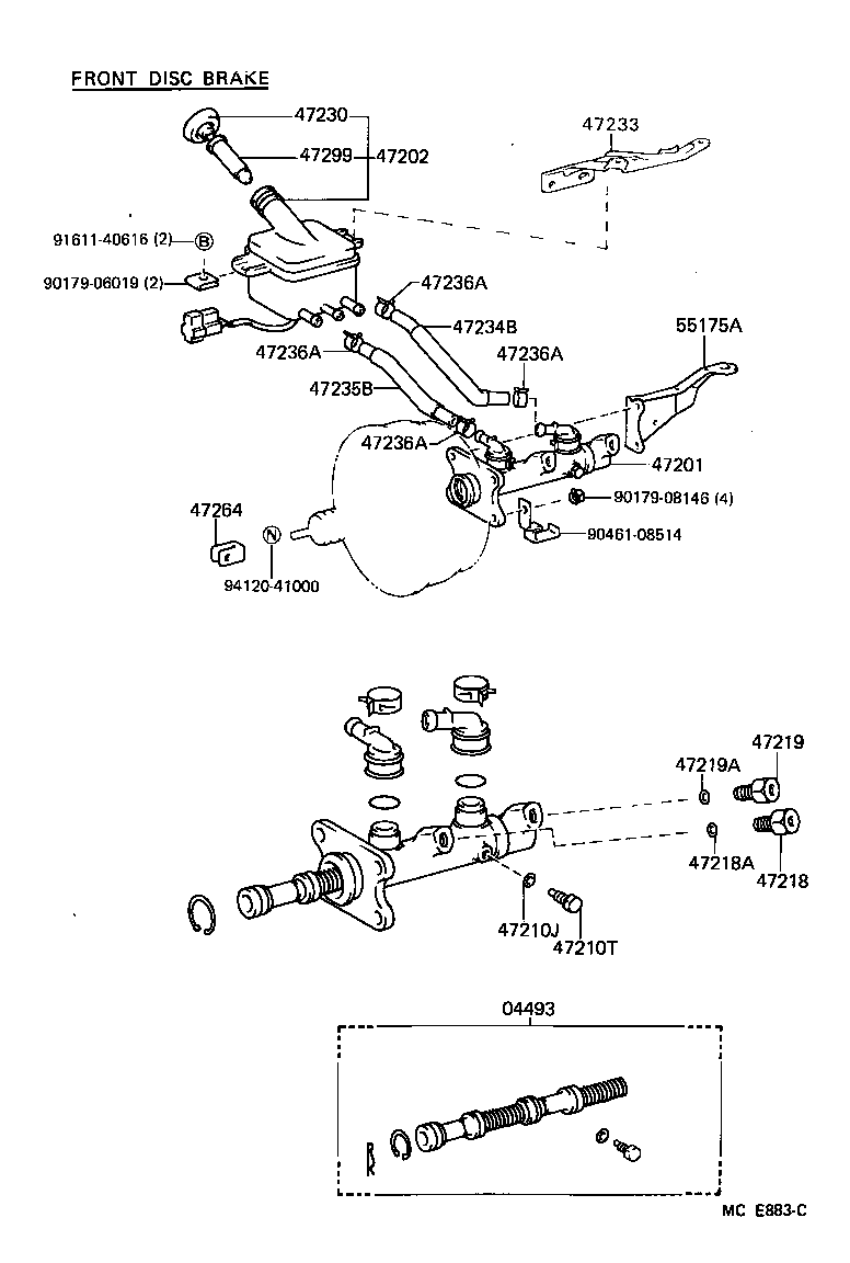
 HIACE VAN WAGON |  BRAKE MASTER CYLINDER 04493 - CYLINDER KIT, BRAKE MASTER 47201 - CYLINDER SUB-ASSY, BRAKE MASTER 47202 - RESERVOIR SUB-ASSY, BRAKE MASTER CYLINDER 47210J - GASKET(FOR MASTER CYLINDER) 47210T - BOLT(FOR BRAKE MASTER CYLINDER) 47218 - PLUG, MASTER CYLINDER FLUID OUTLET 47218A - GASKET(FOR FLUID OUTLET PLUG) 47219 - PLUG, MASTER CYLINDER FLUID OUTLET(FOR REAR SIDE) 47219A - GASKET(FOR FLUID OUTLET PLUG REAR SIDE) 47230 - CAP ASSY, BRAKE MASTER CYLINDER RESERVOIR FILLER 47233 - BRACKET, RESERVOIR 47234B - TUBE, RESERVOIR, NO.1 47235B - TUBE, BRAKE MASTER CYRINDER RESERVOIR, NO.2 47236A - CLIP(FOR RESERVOIR TUBE) 47236A - CLIP(FOR RESERVOIR TUBE) 47236A - CLIP(FOR RESERVOIR TUBE) 47236A - CLIP(FOR RESERVOIR TUBE) 47264 - CLEVIS, MASTER CYLINDER PUSH ROD 47299 - STRAINER, BRAKE MASTER CYLINDER RESERVOIR 55175A - SUPPORT SUB-ASSY, BRAKE MASTER CYLINDER  ** Std Part  ** Std Part  ** Std Part  ** Std Part  ** Std Part

Register

Nick (login)
Password
Full name
eMail
Phone
Country

Login

Nick (login)
Password