TOYOTA COASTER CHINA BB53L-ZCMEU / TOOL-ENGINE-FUEL / AIR CLEANER

Toyota Land Cruiser genuine parts

Toyota - LEXUS genuine parts

AIR CLEANER

(0012-0310)15BF..BB53

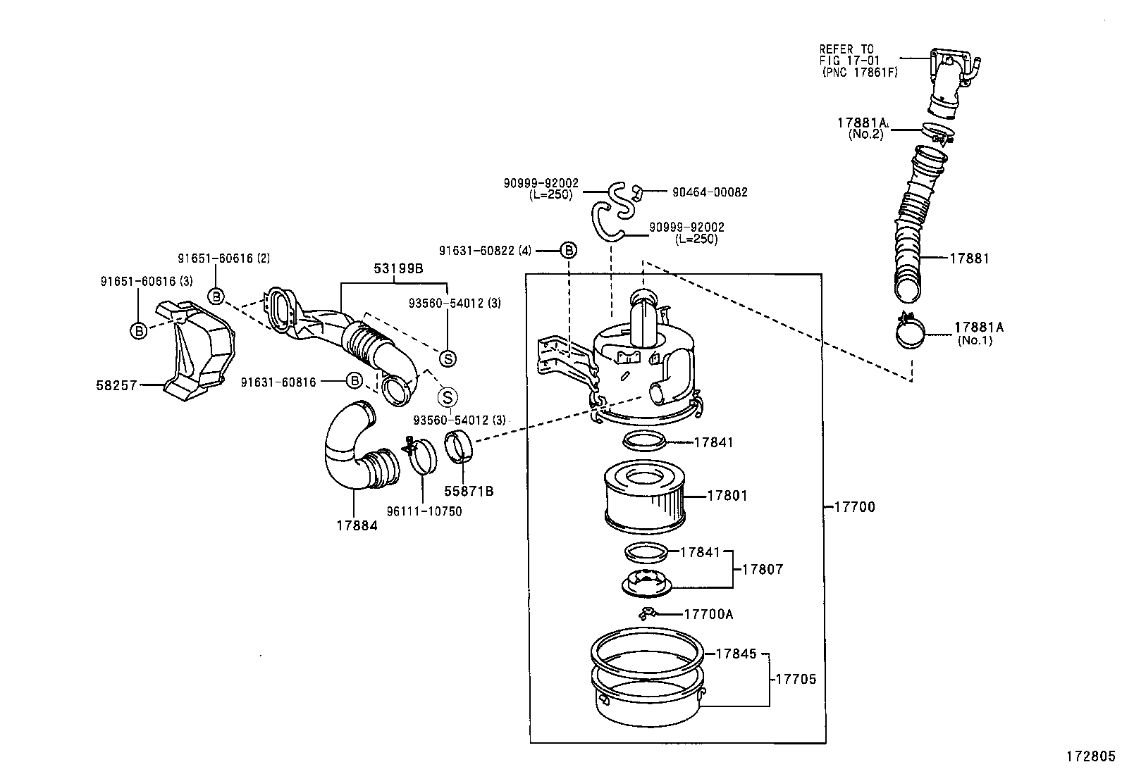
 COASTER CHINA |  AIR CLEANER ** Refer Fig 17700 - CLEANER ASSY, AIR 17700A - NUT, WING(FOR AIR CLEANER) 17705 - CAP SUB-ASSY, AIR CLEANER 17801 - ELEMENT SUB-ASSY, AIR CLEANER FILTER 17807 - PLATE SUB-ASSY, AIR CLEANER FILTER SET 17841 - GASKET, FILTER ELEMENT 17841 - GASKET, FILTER ELEMENT 17845 - GASKET, AIR CLEANER CAP 17881 - HOSE, AIR CLEANER, NO.1 17881A - CLAMP(FOR AIR CLEANER HOSE, NO.1) 17881A - CLAMP(FOR AIR CLEANER HOSE, NO.1) 17884 - HOSE, AIR CLEANER, NO.4 53199B - DUCT SUB-ASSY, COOL AIR INTAKE 55871B - SEAL, AIR DUCT 58257 - PLATE, AIR CLEANER HOUSE  ** Std Part  ** Std Part  ** Std Part  ** Std Part  ** Std Part  ** Std Part  ** Std Part  ** Std Part  ** Std Part  ** Std Part

Register

Nick (login)
Password
Full name
eMail
Phone
Country

Login

Nick (login)
Password