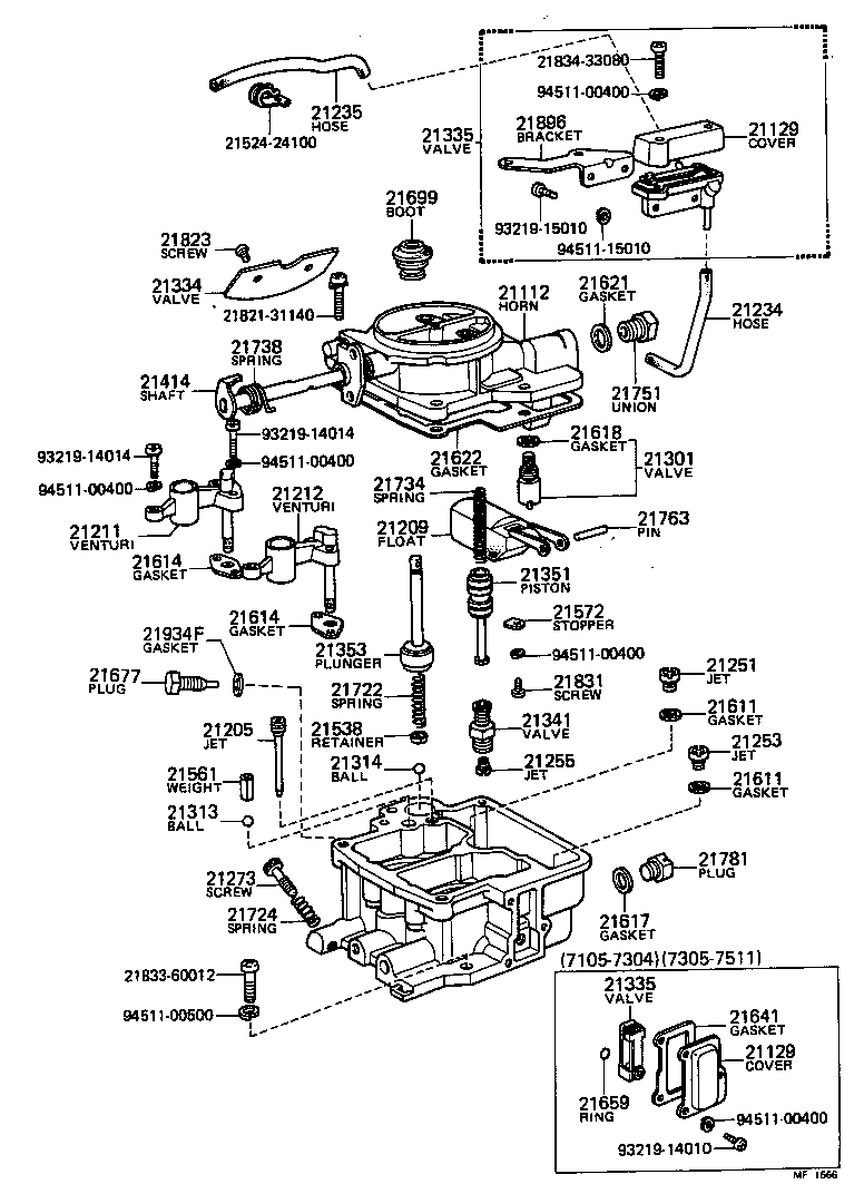
(7105-7305)
21524-241002152424100
21821-311402182131140
21833-600122183360012
21834-330802183433080
93219-140109321914010
93219-140149321914014
93219-150109321915010
94511-004009451100400
94511-005009451100500
94511-150109451115010