TOYOTA TERCEL EL53L-AEPRKA / BODY / FRONT BUMPER BUMPER STAY

Toyota Land Cruiser genuine parts

Toyota - LEXUS genuine parts

FRONT BUMPER BUMPER STAY

(9712- )

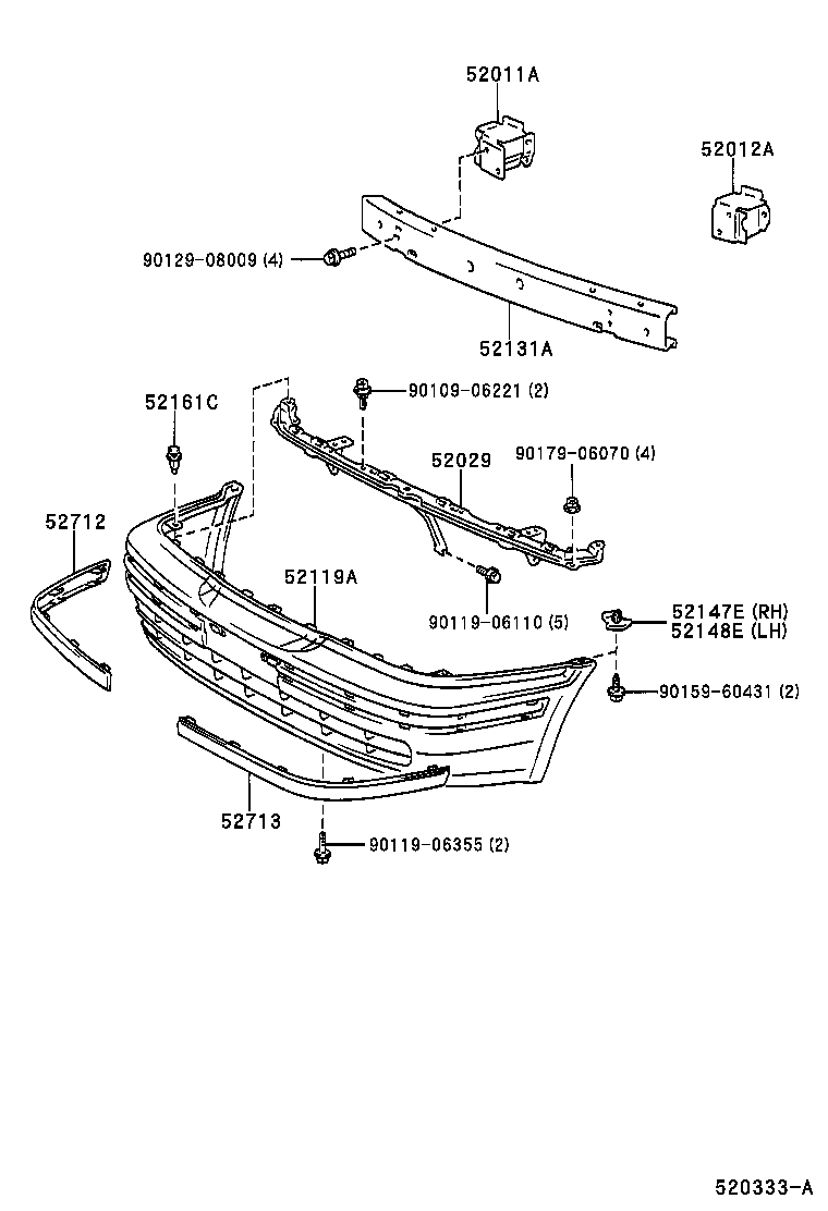
 TERCEL |  FRONT BUMPER BUMPER STAY 52011A - ARM SUB-ASSY, FRONT BUMPER, RH 52012A - ARM SUB-ASSY, FRONT BUMPER, LH 52029 - REINFORCEMENT SUB-ASSY, FRONT BUMPER, UPPER 52119A - COVER, FRONT BUMPER 52131A - REINFORCEMENT, FRONT BUMPER 52147E - BRACKET, FRONT BUMPER MOUNTING, RH 52148E - BRACKET, FRONT BUMPER MOUNTING, LH 52161C - PIECE, FRONT BUMPER 52712 - MOULDING, FRONT BUMPER SIDE, RH 52713 - PLUG, FRONT BUMPER MOULDING  ** Std Part  ** Std Part  ** Std Part  ** Std Part  ** Std Part  ** Std Part

Register

Nick (login)
Password
Full name
eMail
Phone
Country

Login

Nick (login)
Password