TOYOTA HILUX YN63RG-PSEQ / TOOL-ENGINE-FUEL / DISTRIBUTOR

Toyota Land Cruiser genuine parts

Toyota - LEXUS genuine parts

DISTRIBUTOR

(8608-8903)4YE

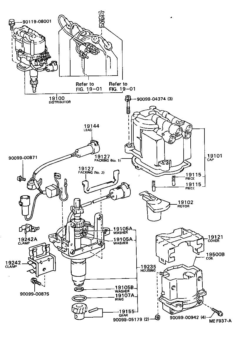
 HILUX |  DISTRIBUTOR ** Refer Fig ** Refer Fig 19100 - DISTRIBUTOR ASSY 19101 - CAP SUB-ASSY, DISTRIBUTOR 19102 - ROTOR SUB-ASSY, DISTRIBUTOR 19105A - WASHER(FOR GOVERNOR SHAFT THRUST) 19105A - WASHER(FOR GOVERNOR SHAFT THRUST) 19105B - WASHER, NO.2(FOR GOVERNOR SHAFT THRUST) 19107A - RING, O, DISTRIBUTOR HOUSING 19115 - PIECE, DISTRIBUTOR CAP, CENTER 19115 - PIECE, DISTRIBUTOR CAP, CENTER 19121 - COVER, DUST PROOF 19127 - PACKING, DUST PROOF 19127 - PACKING, DUST PROOF 19144 - LEAD, DISTRIBUTOR BREAKER 19155 - GEAR, SPIRAL, DISTRIBUTOR 19235 - HOUSING, DISTRIBUTOR 19242 - CLAMP, CORD 19242A - CLAMP, CORD, NO.2 19500B - COIL ASSY, IGNITION  ** Std Part  ** Std Part  ** Std Part  ** Std Part  ** Std Part  ** Std Part

Register

Nick (login)
Password
Full name
eMail
Phone
Country

Login

Nick (login)
Password