TOYOTA CORONA RT142R-TEMNEQ / TOOL-ENGINE-FUEL / EXHAUST GAS RECIRCULATION SYSTEM

Toyota Land Cruiser genuine parts

Toyota - LEXUS genuine parts

EXHAUST GAS RECIRCULATION SYSTEM

(8408-8612)22REC

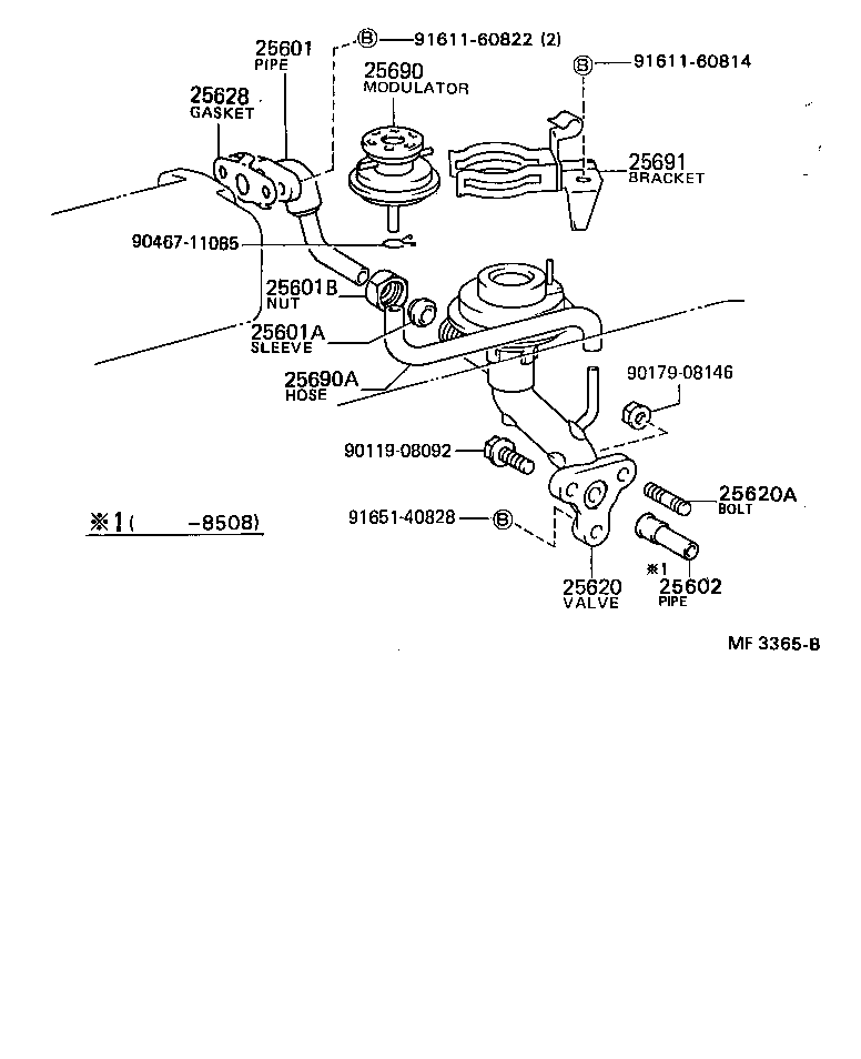
 CORONA |  EXHAUST GAS RECIRCULATION SYSTEM 25601 - PIPE SUB-ASSY, EGR, NO.1 25601A - SLEEVE, BALL, EGR PIPE, NO.1 25601B - NUT, UNION, EGR PIPE, NO.1 25602 - PIPE SUB-ASSY, EGR, NO.2 25620 - VALVE ASSY, EGR 25620A - BOLT, STUD(FOR EGR VALVE) 25628 - GASKET, EGR INLET 25690 - MODULATOR ASSY, EGR VACUUM 25690A - HOSE(FOR EGR VACUUM MODULATOR) 25691 - BRACKET, EGR VACUUM MODULATOR  ** Std Part  ** Std Part  ** Std Part  ** Std Part  ** Std Part  ** Std Part

Register

Nick (login)
Password
Full name
eMail
Phone
Country

Login

Nick (login)
Password