TOYOTA CRESSIDA TX30R-EHRN / TOOL-ENGINE-FUEL / DISTRIBUTOR

Toyota Land Cruiser genuine parts

Toyota - LEXUS genuine parts

DISTRIBUTOR

(8001-8008)3T

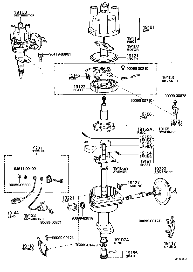
 CRESSIDA |  DISTRIBUTOR 19100 - DISTRIBUTOR ASSY 19101 - CAP SUB-ASSY, DISTRIBUTOR 19102 - ROTOR SUB-ASSY, DISTRIBUTOR 19103 - BREAKER SUB-ASSY, DISTRIBUTOR 19105 - GOVERNOR SUB-ASSY 19105A - WASHER(FOR GOVERNOR SHAFT THRUST) 19106 - CAM SUB-ASSY, DISTRIBUTOR 19107A - RING, O, DISTRIBUTOR HOUSING 19115 - PIECE, DISTRIBUTOR CAP, CENTER 19117 - SPRING, DISTRIBUTOR CAP, A 19118 - SPRING, DISTRIBUTOR CAP, B 19121 - COVER, DUST PROOF 19122 - PLATE, STATIONARY, DISTRIBUTOR 19127 - PACKING, DUST PROOF 19133 - CONDENSER, DISTRIBUTOR 19137 - SPRING SUB-ASSY, DAMPER 19144 - LEAD, DISTRIBUTOR BREAKER 19145 - POINT, DISTRIBUTOR 19151 - SHAFT, GOVERNOR 19152 - WEIGHT, GOVERNOR 19152A - RING, SNAP(FOR GOVERNOR WEIGHT) 19153 - SPRING, GOVERNOR, A 19154 - SPRING, GOVERNOR, B 19155 - GEAR, SPIRAL, DISTRIBUTOR 19220 - ADVANCER ASSY, VACUUM, DISTRIBUTOR 19221 - CAP, ADJUSTER, DISTRIBUTOR 19231 - TERMINAL, DISTRIBUTOR  ** Std Part  ** Std Part  ** Std Part  ** Std Part  ** Std Part  ** Std Part  ** Std Part  ** Std Part  ** Std Part  ** Std Part  ** Std Part

Register

Nick (login)
Password
Full name
eMail
Phone
Country

Login

Nick (login)
Password