TOYOTA CRESSIDA RX30R-EKDW / TOOL-ENGINE-FUEL / MANIFOLD

Toyota Land Cruiser genuine parts

Toyota - LEXUS genuine parts

MANIFOLD

(7612-7901)18R#..EUR,GEN

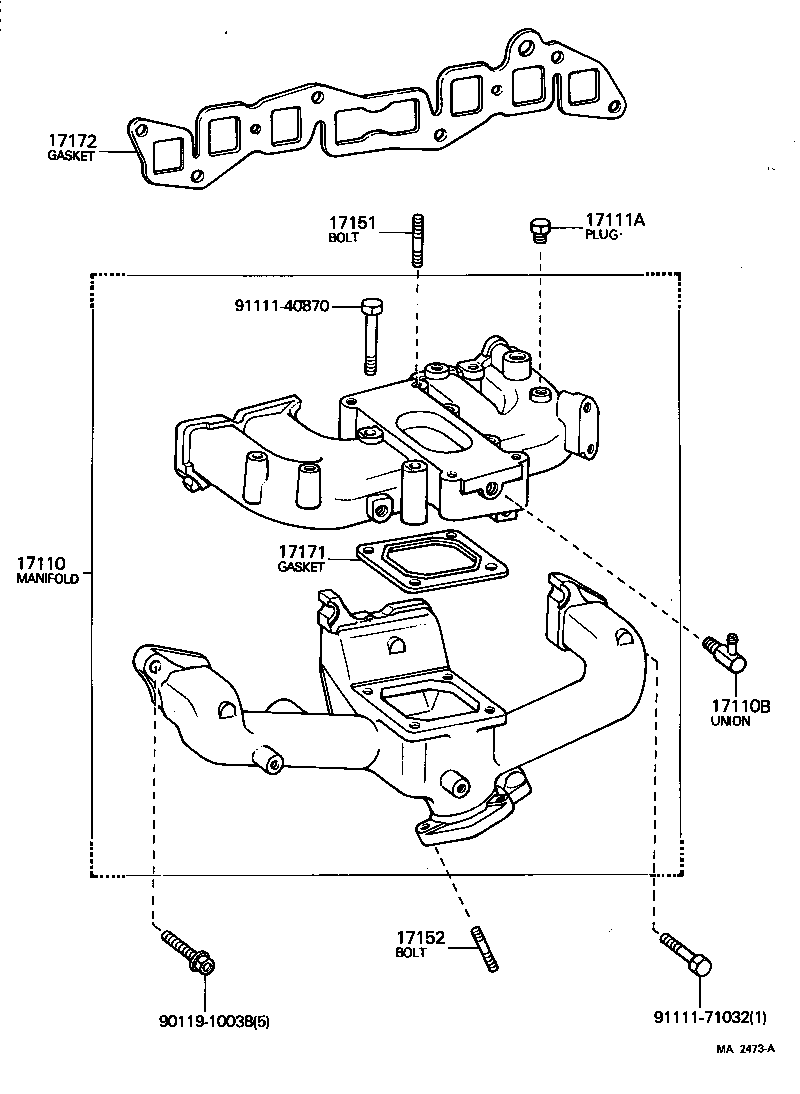
 CRESSIDA |  MANIFOLD 17110 - MANIFOLD ASSY 17110B - UNION(FOR VENTILATION HOSE TO MANIFOLD) 17111A - PLUG, NO.1 17151 - BOLT, STUD(FOR MANIFOLD TO CARBURETOR) 17152 - BOLT, STUD(FOR MANIFOLD TO EXHAUST PIPE) 17171 - GASKET, INTAKE TO EXHAUST MANIFOLD 17172 - GASKET, MANIFOLD TO CYLINDER HEAD  ** Std Part  ** Std Part  ** Std Part

Register

Nick (login)
Password
Full name
eMail
Phone
Country

Login

Nick (login)
Password