TOYOTA MR2 AW11L-WCMQFK / ELECTRICAL / OVERDRIVE ELECTRONIC CONTROLLED TRANSMISSION

Toyota Land Cruiser genuine parts

Toyota - LEXUS genuine parts

OVERDRIVE ELECTRONIC CONTROLLED TRANSMISSION

(8508- )

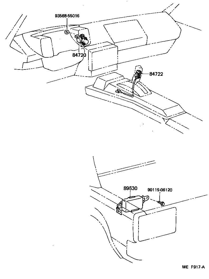
 MR2 |  OVERDRIVE ELECTRONIC CONTROLLED TRANSMISSION 84720 - SWITCH ASSY, PATTERN SELECT 84722 - SWITCH, TRANSMISSION CONTROL 89530 - COMPUTER ASSY, TRANSMISSION CONTROL  ** Std Part  ** Std Part

Register

Nick (login)
Password
Full name
eMail
Phone
Country

Login

Nick (login)
Password