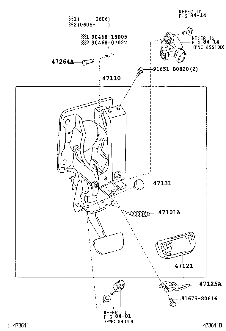
TOYOTA ALPHARD HV ATH10W-PRXGB / POWERTRAIN-CHASSIS / BRAKE PEDAL BRACKET

Toyota Land Cruiser genuine parts

Toyota - LEXUS genuine parts

BRAKE PEDAL BRACKET

(0307- )

 ALPHARD HV |  BRAKE PEDAL BRACKET 47101A - SPRING(FOR BRAKE PEDAL RETURN) 47110 - SUPPORT ASSY, BRAKE PEDAL 47121 - PAD, BRAKE PEDAL 47125A - BRACKET, BRAKE PEDAL 47131 - CUSHION(FOR STOP LAMP SWITCH) 47264A - PIN(FOR PUSH ROD) ** Refer Fig ** Refer Fig ** Refer Fig  ** Std Part  ** Std Part  ** Std Part  ** Std Part

Register

Nick (login)
Password
Full name
eMail
Phone
Country

Login

Nick (login)
Password