TOYOTA MEGA CRUISER BXD20V-RRPEW / POWERTRAIN-CHASSIS / AIR BRAKE SYSTEM

Toyota Land Cruiser genuine parts

Toyota - LEXUS genuine parts

AIR BRAKE SYSTEM

ILLUST NO. 1 OF 4(9601- )

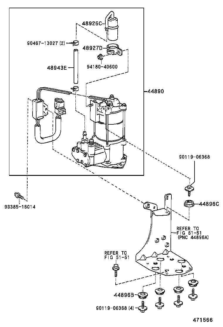
 MEGA CRUISER |  AIR BRAKE SYSTEM 44890 - COMPRESSOR ASSY, AIR 44896B - BUSH, AIR BRAKE COMPRESSOR BRACKET, NO.1 44896C - BUSH, AIR BRAKE COMPRESSOR BRACKET, NO.2 48925C - FILTER, AIR BRAKE COMPRESSOR 48927D - BRACKET, AIR BRAKE COMPRESSOR FILTER 48943E - HOSE(FOR FILTER TO COMPRESSOR) ** Refer Fig ** Refer Fig  ** Std Part  ** Std Part  ** Std Part  ** Std Part  ** Std Part

Register

Nick (login)
Password
Full name
eMail
Phone
Country

Login

Nick (login)
Password