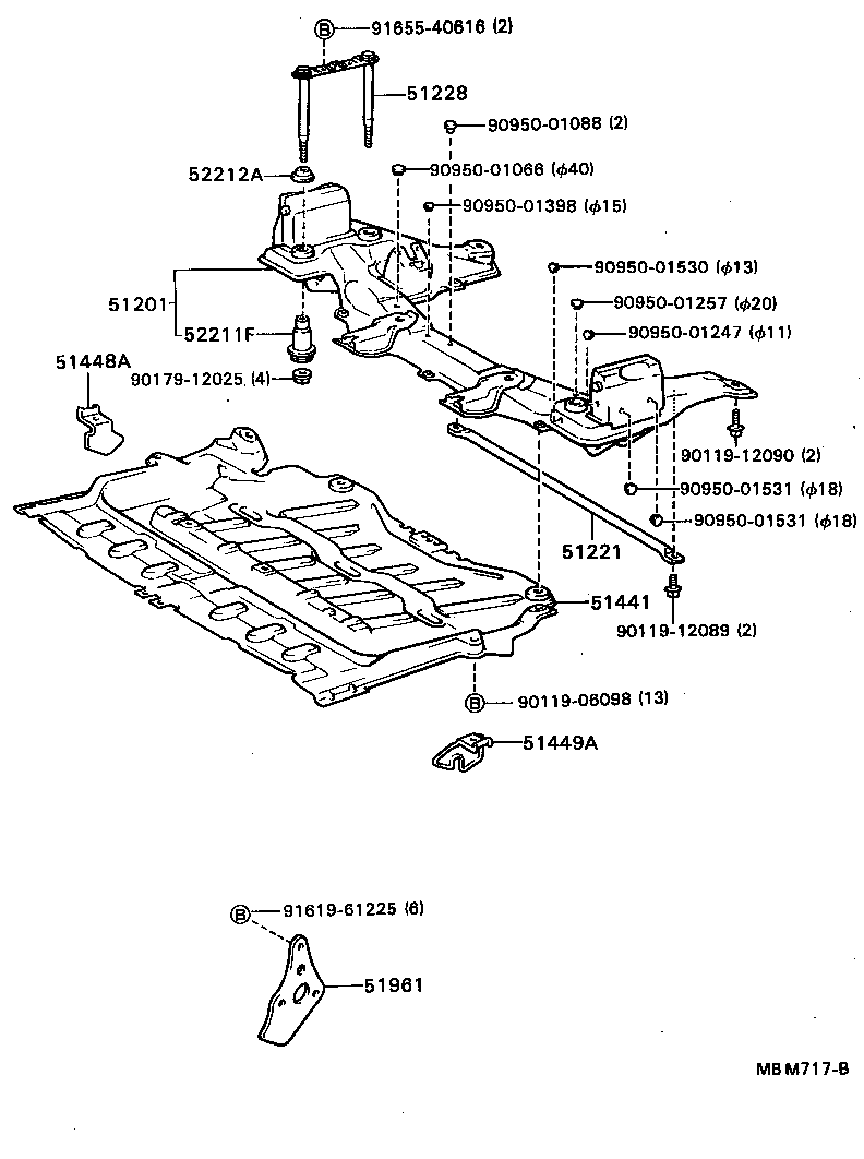
TOYOTA SOARER MZ20-HCMZZ / BODY / SUSPENSION CROSSMEMBER UNDER COVER

Toyota Land Cruiser genuine parts

Toyota - LEXUS genuine parts

SUSPENSION CROSSMEMBER UNDER COVER

ILLUST NO. 1 OF 2(8801- )

 SOARER |  SUSPENSION CROSSMEMBER UNDER COVER 51201 - CROSSMEMBER SUB-ASSY, FRONT SUSPENSION 51221 - CROSSMEMBER, FRONT SUSPENSION, NO.1 51228 - PLATE, SUSPENSION MEMBER SET 51441 - COVER, ENGINE UNDER, NO.1 51448A - COVER, ENGINE SIDE UNDER, RH 51449A - COVER, ENGINE SIDE UNDER, LH 51961 - HOOK, NO.1 52211F - CUSHION, BODY MOUNTING, FRONT UPPER 52212A - CUSHION, BODY MOUNTING, NO.2  ** Std Part  ** Std Part  ** Std Part  ** Std Part  ** Std Part  ** Std Part  ** Std Part  ** Std Part  ** Std Part  ** Std Part  ** Std Part  ** Std Part  ** Std Part  ** Std Part

Register

Nick (login)
Password
Full name
eMail
Phone
Country

Login

Nick (login)
Password