TOYOTA SPRINTER AE91-BEHBU / ELECTRICAL / HEATING AIR CONDITIONING WATER PIPING

Toyota Land Cruiser genuine parts

Toyota - LEXUS genuine parts

HEATING AIR CONDITIONING WATER PIPING

(8705- )AE9#

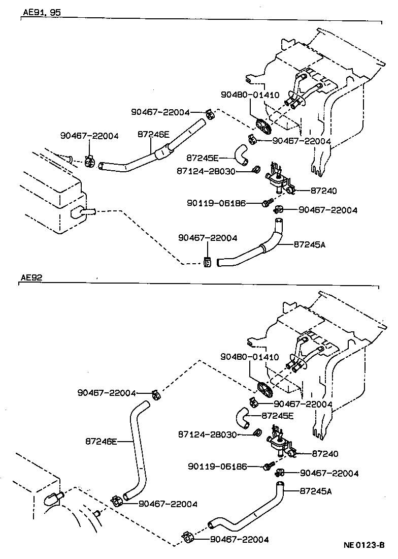
 SPRINTER |  HEATING AIR CONDITIONING WATER PIPING  ** Std Part  ** Std Part 87240 - VALVE ASSY, HEATER WATER 87240 - VALVE ASSY, HEATER WATER 87245A - HOSE, HEATER WATER, INLET A 87245A - HOSE, HEATER WATER, INLET A 87245E - HOSE, HEATER WATER, INLET E 87245E - HOSE, HEATER WATER, INLET E 87246E - HOSE, HEATER WATER, OUTLET E 87246E - HOSE, HEATER WATER, OUTLET E  ** Std Part  ** Std Part  ** Std Part  ** Std Part  ** Std Part  ** Std Part  ** Std Part  ** Std Part  ** Std Part  ** Std Part  ** Std Part  ** Std Part  ** Std Part  ** Std Part

Register

Nick (login)
Password
Full name
eMail
Phone
Country

Login

Nick (login)
Password