TOYOTA LITE TOWNACE TRUCK KM20-JDLTW3 / BODY / REAR BODY MOUNTING

Toyota Land Cruiser genuine parts

Toyota - LEXUS genuine parts

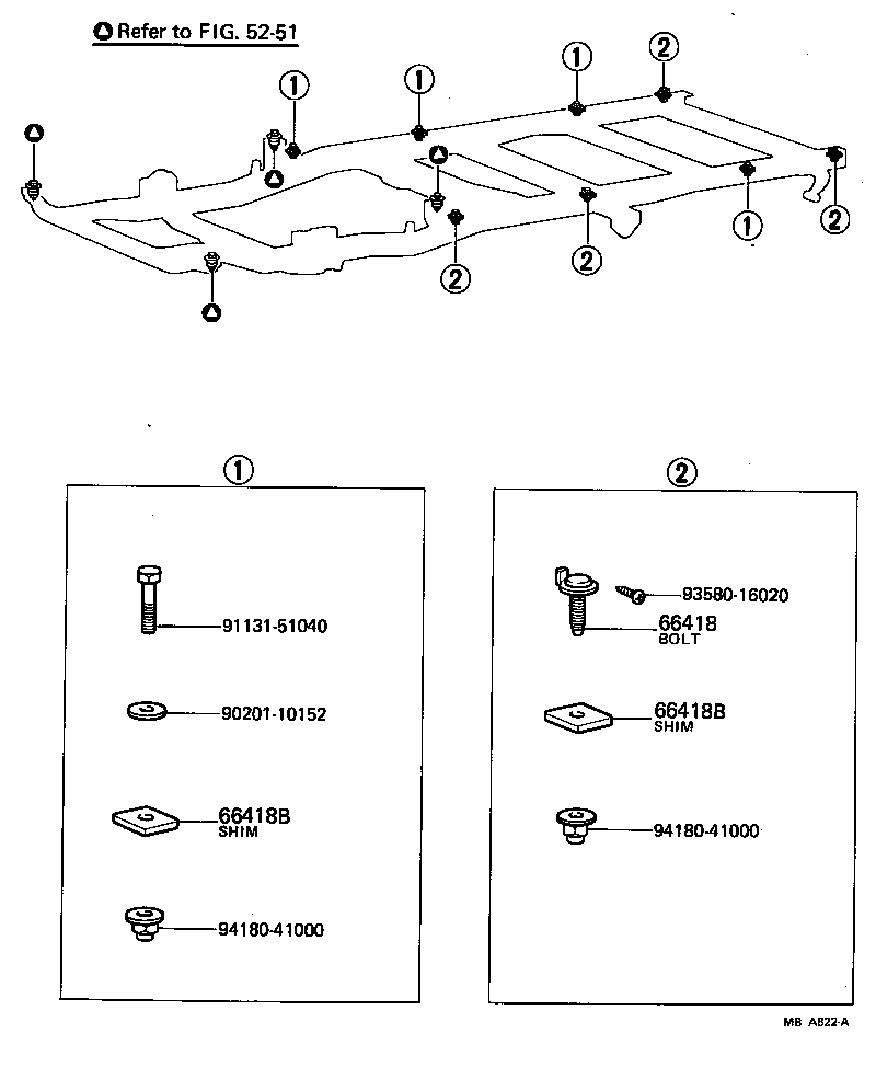
REAR BODY MOUNTING

(7910-8210)TR

 LITE TOWNACE TRUCK |  REAR BODY MOUNTING ** Refer Fig 66418 - BOLT, MOUNTING 66418B - SHIM, MOUNTING 66418B - SHIM, MOUNTING  ** Std Part  ** Std Part  ** Std Part  ** Std Part  ** Std Part

Register

Nick (login)
Password
Full name
eMail
Phone
Country

Login

Nick (login)
Password