TOYOTA CROWN MS117V-SXKDSW / TOOL-ENGINE-FUEL / DISTRIBUTOR

Toyota Land Cruiser genuine parts

Toyota - LEXUS genuine parts

DISTRIBUTOR

(7909-8208)MJ

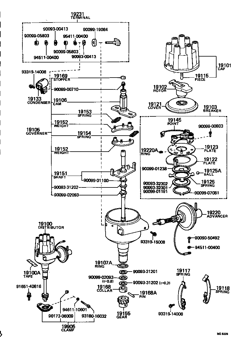
 CROWN |  DISTRIBUTOR 19100 - DISTRIBUTOR ASSY 19100A - TAPE, SEALING 19101 - CAP SUB-ASSY, DISTRIBUTOR 19102 - ROTOR SUB-ASSY, DISTRIBUTOR 19103 - BREAKER SUB-ASSY, DISTRIBUTOR 19105 - GOVERNOR SUB-ASSY 19106 - CAM SUB-ASSY, DISTRIBUTOR 19107A - RING, O, DISTRIBUTOR HOUSING 19115 - PIECE, DISTRIBUTOR CAP, CENTER 19117 - SPRING, DISTRIBUTOR CAP, A 19118 - SPRING, DISTRIBUTOR CAP, B 19121 - COVER, DUST PROOF 19122 - PLATE, STATIONARY, DISTRIBUTOR 19123 - PLATE, DISTRIBUTOR BREAKER 19125 - SPRING(FOR DISTRIBUTOR STATIONARY PLATE) 19125A - BALL, DISTRIBUTOR STATIONARY PLATE 19133 - CONDENSER, DISTRIBUTOR 19145 - POINT, DISTRIBUTOR 19151 - SHAFT, GOVERNOR 19152 - WEIGHT, GOVERNOR 19152 - WEIGHT, GOVERNOR 19153 - SPRING, GOVERNOR, A 19154 - SPRING, GOVERNOR, B 19155 - GEAR, SPIRAL, DISTRIBUTOR 19168 - COLLAR, DISTRIBUTOR 19168A - PIN, DISTRIBUTOR COLLAR STOPPER 19169 - STOPPER, CAM GREASE 19220 - ADVANCER ASSY, VACUUM, DISTRIBUTOR 19220A - RING, SNAP(FOR DISTRIBUTOR VACUUM ADVANCER) 19231 - TERMINAL, DISTRIBUTOR 19905 - CLAMP SUB-ASSY, DISTRIBUTOR  ** Std Part  ** Std Part  ** Std Part  ** Std Part  ** Std Part  ** Std Part  ** Std Part  ** Std Part  ** Std Part  ** Std Part  ** Std Part  ** Std Part  ** Std Part  ** Std Part  ** Std Part  ** Std Part  ** Std Part  ** Std Part  ** Std Part  ** Std Part  ** Std Part  ** Std Part  ** Std Part  ** Std Part  ** Std Part  ** Std Part  ** Std Part  ** Std Part  ** Std Part

Register

Nick (login)
Password
Full name
eMail
Phone
Country

Login

Nick (login)
Password