TOYOTA CROWN MS110-SEBBP / POWERTRAIN-CHASSIS / GEAR SHIFT FORK LEVER SHAFT MTM

Toyota Land Cruiser genuine parts

Toyota - LEXUS genuine parts

GEAR SHIFT FORK LEVER SHAFT MTM

(7909-8010)MS110,117,RS110..4H

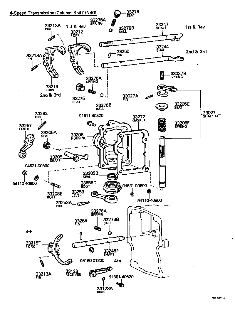
 CROWN |  GEAR SHIFT FORK LEVER SHAFT MTM 33027 - SHAFT SET, SHIFT LEVER 33027A - PIN, SLOTTED SPRING(FOR SHIFT LEVER SHAFT SET) 33027B - SPRING, COMPRESSION(FOR SHIFT LEVER SHAFT SET) 33123 - RECEIVER, TRANSMISSION OIL 33123A - RING, O(FOR TRANSMISSION OIL RECEIVER) 33203B - SEAL, OIL(FOR SHIFT LEVER SHAFT) 33205 - SHAFT SUB-ASSY, SELECT LEVER 33205A - SEAL, OIL(FOR SHIFT LEVER NO.2 SHAFT) 33205E - SEAT(FOR SELECT RETURN SPRING) 33205F - SPRING, COMPRESSION(FOR SELECT RETURN) 33208 - HOUSING SUB-ASSY, SHIFT LEVER SHAFT 33208E - BOLT, LEVER SHAFT HOUSING STUD 33212 - FORK, 1ST & REVERSE SHIFT 33213A - PIN, SLOTTED SPRING(FOR SHIFT FORK SET) 33213A - PIN, SLOTTED SPRING(FOR SHIFT FORK SET) 33213A - PIN, SLOTTED SPRING(FOR SHIFT FORK SET) 33214 - FORK, 2ND & 3RD SHIFT 33215F - FORK, 4TH SHIFT 33244 - SHAFT, 2ND & 3RD SHIFT FORK 33245F - SHAFT, 4TH SHIFT FORK 33247 - SHAFT, 1ST & REVERSE SHIFT FORK 33253 - LEVER, SHIFT OUTER, NO.1 33253A - PIN, LEVER LOCK (FOR SHIFT OUTER LEVER) 33257 - LEVER, SELECT OUTER 33265 - PIN, SHIFT INTER LOCK, NO.2 33265 - PIN, SHIFT INTER LOCK, NO.2 33272 - GASKET, SHIFT LEVER SHAFT HOUSING 33275 - SEAT, SHIFT DETENT BALL SPRING, NO.1 33275A - SPRING, COMPRESSION (FOR SHIFT DETENT BALL LOW SIDE) 33275B - BALL, SHAFT DETENT 33276 - SEAT, SHIFT DETENT BALL SPRING, NO.2 33276A - SPRING, COMPRESSION, NO.2 (FOR SHIFT DETENT BALL) 33276A - SPRING, COMPRESSION, NO.2 (FOR SHIFT DETENT BALL) 33276B - BALL, SHIFT DETENT, NO.2 33276B - BALL, SHIFT DETENT, NO.2 33282 - PIN, LEVER LOCK, NO.2 33555D - BOOT, SHIFT LEVER  ** Std Part  ** Std Part  ** Std Part  ** Std Part  ** Std Part  ** Std Part  ** Std Part

Register

Nick (login)
Password
Full name
eMail
Phone
Country

Login

Nick (login)
Password