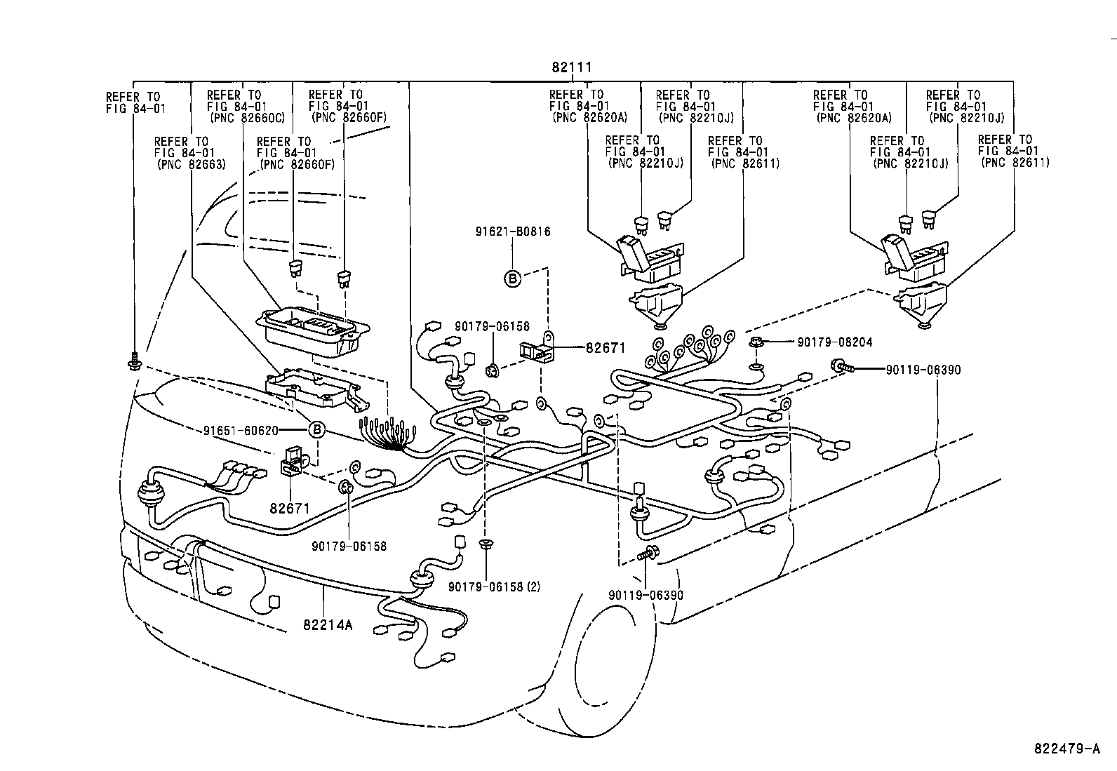
TOYOTA COASTER CHINA BB53L-ZCMEU / ELECTRICAL / WIRING CLAMP

Toyota Land Cruiser genuine parts

Toyota - LEXUS genuine parts

WIRING CLAMP

ENGINE ROOM ILLUST NO. 1 OF 8(0012-0310)

 COASTER CHINA |  WIRING CLAMP 82111 - WIRE, ENGINE ROOM MAIN 82214A - WIRE, LAMP 82671 - BLOCK, JUNCTION 82671 - BLOCK, JUNCTION ** Refer Fig ** Refer Fig ** Refer Fig ** Refer Fig ** Refer Fig ** Refer Fig ** Refer Fig ** Refer Fig ** Refer Fig ** Refer Fig ** Refer Fig ** Refer Fig ** Refer Fig  ** Std Part  ** Std Part  ** Std Part  ** Std Part  ** Std Part  ** Std Part  ** Std Part  ** Std Part

Register

Nick (login)
Password
Full name
eMail
Phone
Country

Login

Nick (login)
Password