08/1988-05/1995
08/1988-04/1992
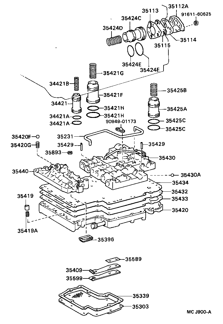
ILLUST NO. 1 OF 5(8808-9204)BU66..ARL
90949-011739094901173
91611-606259161160625