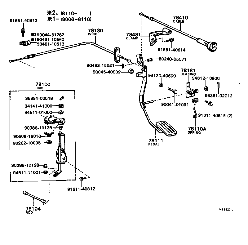
TOYOTA BLIZZARD LD10RV-KCQ / BODY / ACCELERATOR LINK

Toyota Land Cruiser genuine parts

Toyota - LEXUS genuine parts

ACCELERATOR LINK

(8201- )

 BLIZZARD |  ACCELERATOR LINK 78100 - LINK ASSY, ACCELERATOR 78104 - ROD SUB-ASSY, ACCELERATOR CONNECTING, NO.2 78110A - SPRING (FOR ACCELERATOR PEDAL ROD) 78111 - PEDAL, ACCELERATOR 78180 - WIRE ASSY, ACCELERATOR 78181 - BEARING, ACCELERATOR PEDAL ROD SUPPORT 78410 - CABLE ASSY, THROTTLE CONTROL 78481 - CLAMP, THROTTLE WIRE  ** Std Part  ** Std Part  ** Std Part  ** Std Part  ** Std Part  ** Std Part  ** Std Part  ** Std Part  ** Std Part  ** Std Part  ** Std Part  ** Std Part  ** Std Part  ** Std Part  ** Std Part  ** Std Part  ** Std Part  ** Std Part  ** Std Part  ** Std Part  ** Std Part  ** Std Part

Register

Nick (login)
Password
Full name
eMail
Phone
Country

Login

Nick (login)
Password