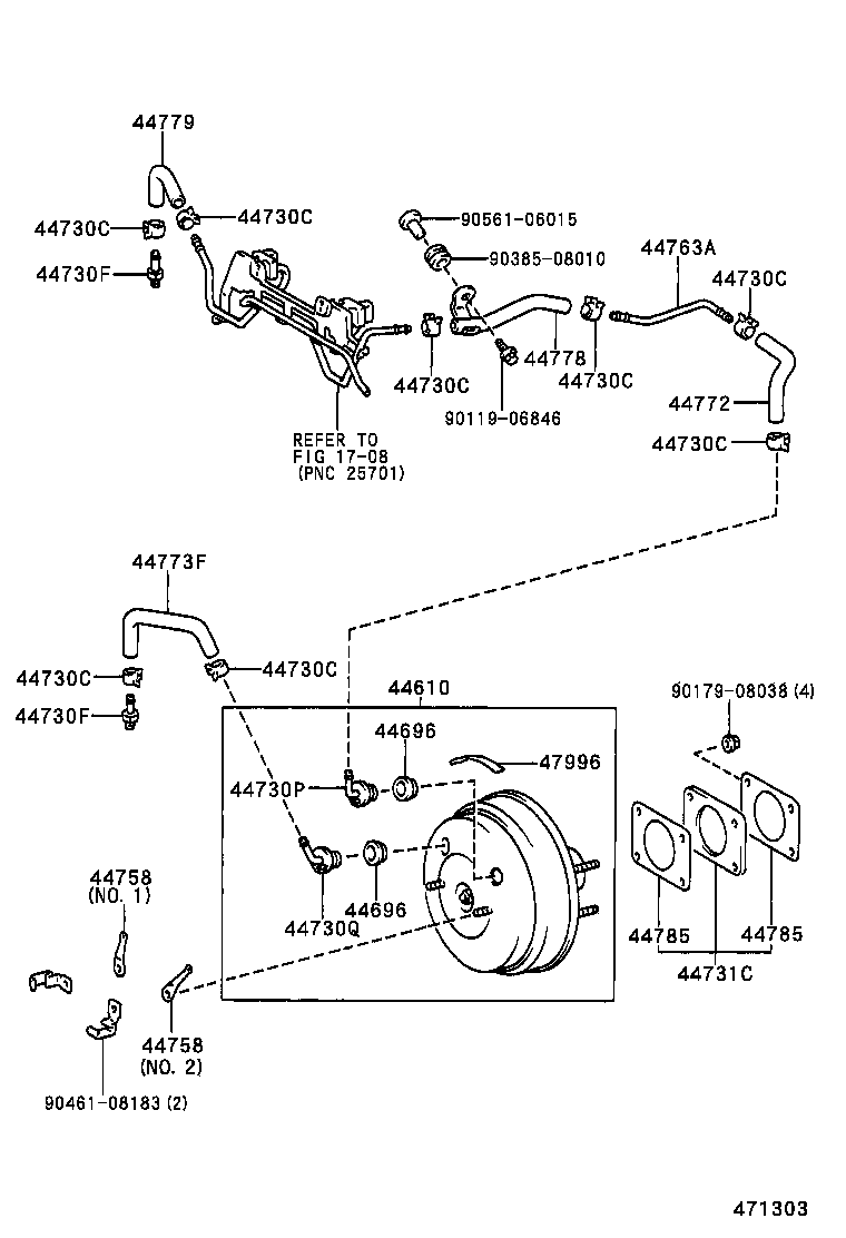
TOYOTA CENTURY GZG50L-AEPGKW / POWERTRAIN-CHASSIS / BRAKE BOOSTER VACUUM TUBE

Toyota Land Cruiser genuine parts

Toyota - LEXUS genuine parts

BRAKE BOOSTER VACUUM TUBE

(9810- )LHD

 CENTURY |  BRAKE BOOSTER VACUUM TUBE ** Refer Fig 44610 - BOOSTER ASSY, BRAKE 44696 - GROMMET, CHECK VALVE 44696 - GROMMET, CHECK VALVE 44730C - CLIP(FOR VACUUM HOSE) 44730C - CLIP(FOR VACUUM HOSE) 44730C - CLIP(FOR VACUUM HOSE) 44730C - CLIP(FOR VACUUM HOSE) 44730C - CLIP(FOR VACUUM HOSE) 44730C - CLIP(FOR VACUUM HOSE) 44730C - CLIP(FOR VACUUM HOSE) 44730C - CLIP(FOR VACUUM HOSE) 44730F - UNION, VACUUM HOSE(FOR MANIFOLD SIDE) 44730F - UNION, VACUUM HOSE(FOR MANIFOLD SIDE) 44730P - VALVE ASSY, VACUUM CHECK, NO.1 44730Q - VALVE ASSY, VACUUM CHECK, NO.2 44731C - BRACKET, BRAKE BOOSTER 44758 - BRACKET, VACUUM CHECK VALVE 44758 - BRACKET, VACUUM CHECK VALVE 44763A - TUBE, HOSE TO HOSE, NO.1 44772 - HOSE, CHECK VALVE TO CONNECTOR TUBE 44773F - HOSE, UNION TO CHECK VALVE 44778 - HOSE, CONNECTOR TO CHECK VALVE 44779 - HOSE, UNION TO CONNECTOR 44785 - GASKET, BRAKE BOOSTER 44785 - GASKET, BRAKE BOOSTER 47996 - LABEL, BRAKE BLEED NOTICE  ** Std Part  ** Std Part  ** Std Part  ** Std Part  ** Std Part

Register

Nick (login)
Password
Full name
eMail
Phone
Country

Login

Nick (login)
Password