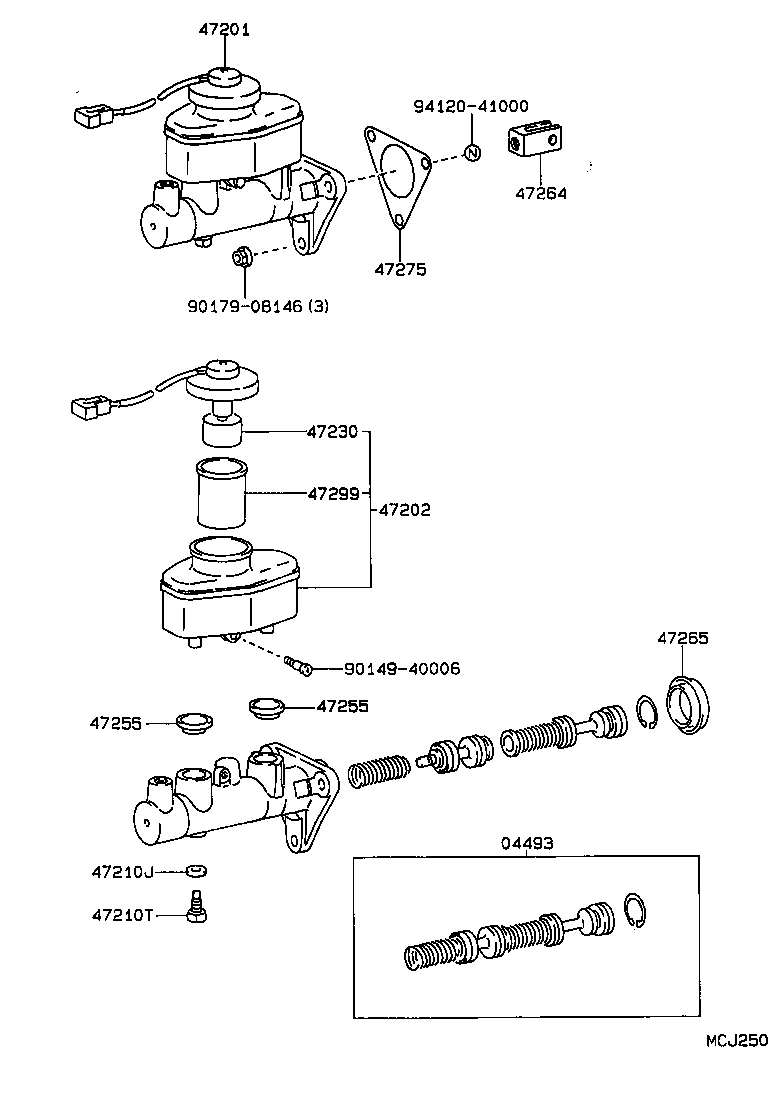
TOYOTA CELICA AT180L-BCPSKK / POWERTRAIN-CHASSIS / BRAKE MASTER CYLINDER

Toyota Land Cruiser genuine parts

Toyota - LEXUS genuine parts

BRAKE MASTER CYLINDER

(8909- )

 CELICA |  BRAKE MASTER CYLINDER

Register

Nick (login)
Password
Full name
eMail
Phone
Country

Login

Nick (login)
Password