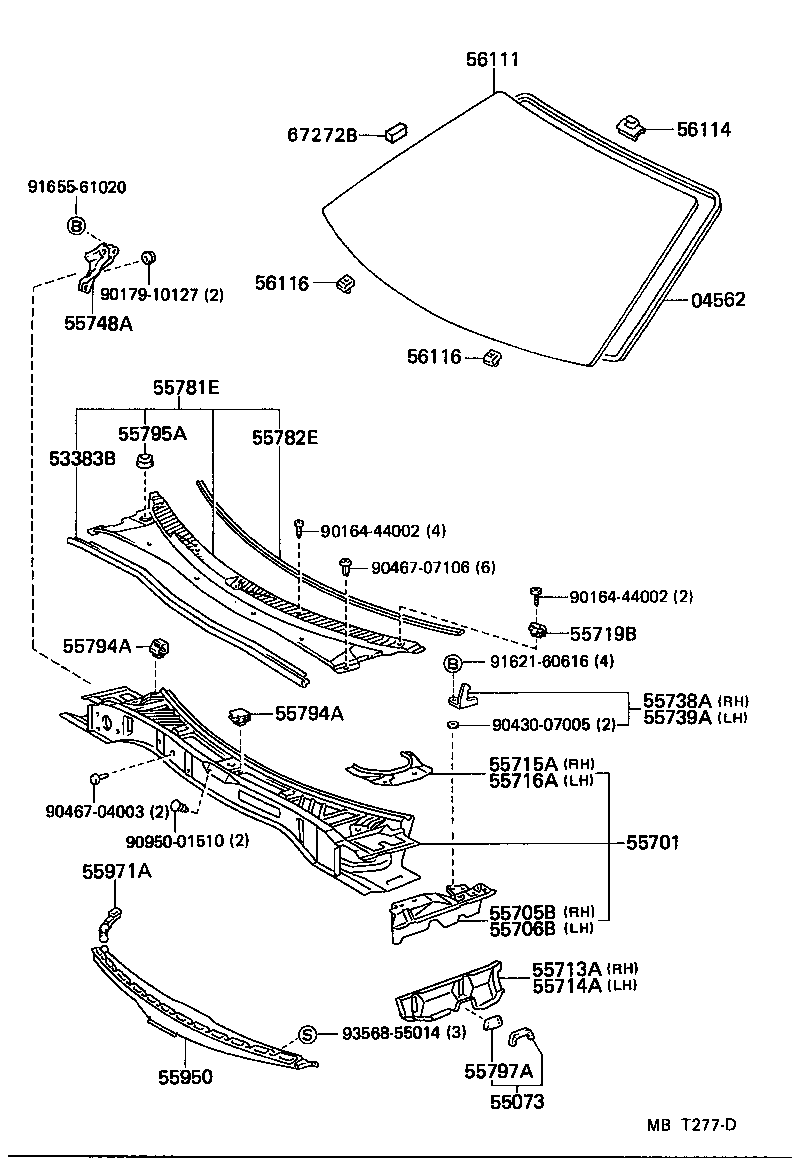
TOYOTA CELICA AT180L-BCPSKK / BODY / COWL PANEL WINDSHIELD GLASS

Toyota Land Cruiser genuine parts

Toyota - LEXUS genuine parts

COWL PANEL WINDSHIELD GLASS

(8909- )

 CELICA |  COWL PANEL WINDSHIELD GLASS

Register

Nick (login)
Password
Full name
eMail
Phone
Country

Login

Nick (login)
Password