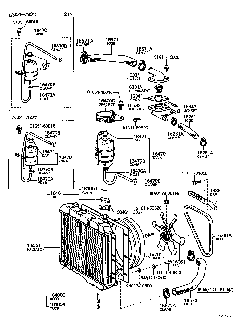
TOYOTA LAND CRUISER 40 50 BJ40L-K / TOOL-ENGINE-FUEL / RADIATOR WATER OUTLET

Toyota Land Cruiser genuine parts

Toyota - LEXUS genuine parts

RADIATOR WATER OUTLET

(7402-7901)B

 LAND CRUISER 40 50 |  RADIATOR WATER OUTLET

Register

Nick (login)
Password
Full name
eMail
Phone
Country

Login

Nick (login)
Password